
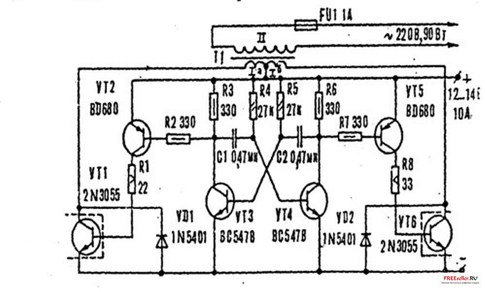
С помощью данного устройства можно получить переменное напряжение 220 В от 12 вольтовой аккумуляторной батареи. Его схема опубликована в Болгарском журнале «Млад Конструктор». Основой ее служит мультивибратор на транзисторах VT3? VT4? Работающий на частоте 50 Гц. На транзисторах VT1, VT2 и VT5, VT6 собраны мощные усилители, нагруженные на согласующий трансформатор Т1 мощностью 100 Вт. Его вторичная обмотка рассчитана на напряжение 220 В и ток 0,5 А, две первичные обмотки – каждая на 10 В и на 10 А.
Преобразователь может питать электролампы, паяльники, кофеварки и другие электроприборы, для которых прямоугольная форма напряжения не имеет значения. Устройство может служить в качестве аварийного источника сетевого напряжения.
Указанные на схеме полупроводниковые приборы можно заменить отечественными: VD1/ VD2 - КД213, VT5 - КТ814, КТ816, VT3? VT4 - КТ 315, КТ312 c любыми буквенными индексами.