
Гальванический электрошокер при прикладывании к телу нападающего кратковременно прикладывается довольно таки чувствительное, но не смертельно опасное напряжение. Электрический импульс, блокируя мышцы, вызывает у злоумышленника сбой дыхания и продолжительное болевое ощущение в сочетании с поистине оглушающим эффектом.
Заведомо ясно: «супостат» не станет подставлять для «воспитательного электроразряда и кратковременного обездвиживания» наиболее уязвимые участки своего тела. К тому же, наверняка, будет основательно одет. А ведь портновские материалы, имея низкую электропроводность, способны свести на нет эффективность гальванического «нейтрализатора агрессии» Все это при водит к необходимости использовать короткие заостренные электроды, которые могут легко прошить слой одежды и, упредив злоумышленника, кратковременным электроразрядом обезвредить его.
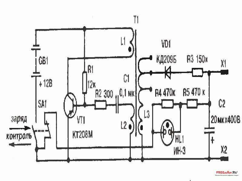
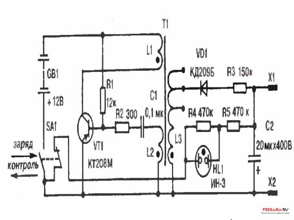
Принципиальная схема эффективного защитного устройства приведена на рис. 1. От гальванической батареи GBI, включаемой тумблером SA1, получает питание блокинг-генератор, собранный на транзисторе VT1, конденсаторе С1 и обмотках L1 L2 трансформатора TI. Снимаемые с L3 высоковольтные электрические колебания частотой в несколько килогерц следуют на полупроводниковый диод VD1. Выпрямленное им напряжение через балластный резистор R3 поступает на конденсатор С2 большой емкости.
Накапливаемый здесь 300-вольтный заряд и служит ударной силой, способной нейтрализовать агрессора. Разряд происходит, когда электроды XI, Х2 соприкасаются с кожным покровом нападающего. Судить о готовности устройства к действию позволяет неоновый индикатор HL1, подключаемый к конденсатору С2 тумблером SA1 в положении КОНТРОЛЬ. ![]()
Рис.1. принципиальная электрическая схема гальванического электрошокера.
Компактность, удобство в обращении—качества для средства самообороны отнюдь немаловажные. Поэтому в роли источника электроэнергии в устройстве индивидуальной защиты используется не громоздкая гальваническая батарея а ее малогабаритный аналог. И сама схема скомпонована таким образом, что значительную часть объема всей конструкции занимают не батарея и монтажная плата, а главный рабочий элемент — накопительный конденсатор.
Порядок пользования прибором следующий. Преодолевая отрезок пути или места, где безопасности путника могут угрожать, он ставит тумблер SA1 на 8-10 секунд в положение ЗАРЯД. По достижении на обкладках накопительного конденсатора напряжения порядка 300 В (в этом легко убедиться по свечению индикатора HL1 в положении переключателя КОНТРОЛЬ) и гальванический электрошокер готов к действию. В случае явного нападения путник наносит ошеломляющий электрический удар (вернее, укол).
Заряд в накопителе сохраняется в течение нескольких минут при постепенном снижении напряжения из-за саморазряда конденсатора (токутечки). Периодически возвращая переключатель в рабочую позицию, можно поддерживать прибор в состоянии готовности к действию при экономном расходовании энергии батареи довольно продолжительное время.
Если нет возможности сразу оторваться от оглушенного электроразрядом преследователя (например, в кабине лифта), то продлить его пребывание в состоянии «отключки» можно повторными электрическими уколами, не дожидаясь полного заряда конденсатора. Так, спустя три секунды напряжение в накопителе успевает достичь 200 В. Этого вполне достаточно для нового действенного внушения гальванического электрошокера, пока открывшиеся двери кабины лифта не позволят обрести безопасность и свободу.
Как видно из анализа принципиальной электрической схемы, для ее воплощения требуется минимум радиодеталей и материалов, доступных даже новичку. В частности, в качестве накопителя можно использовать электролитический конденсатор типа ЭГЦ; С1 — типа КЛС. Неоновый индикатор — типа ИН-3, а резисторы — МЛТ, рассчитанные на мощность рассеяния 0,125 Вт (за исключением R3, которое лучше взять полуваттным). Переключателем SA1 может служить микротумблер МТ1, источником питания — компактная 12-вольтная гальваническая батарейка L1028.
Трансформатор Т1 самодельный с магнитопроводом 1117x7 из феррита марки М2000НМ. Обмотка L1 содержит 100 витков ПЭВ-2 0,25, а L2 - 180 витков ПЭВ-2 0,2. У L3, намотанной проводом ПЭВ-2 0,1, номинальное количество витков равно 2700. Но, как показывает практика, лучше предусмотреть небольшой запас, доведя число витков до 2970 с отводами от 2250-го, 2475-го, 2700-го и 2835-го, что позволит подобрать на выходе напряжение, максимально соответствующее четкой и слаженной работе всего устройства в целом.
Большая часть схемы монтируется на плате из односторонне фольгированного стеклотекстолита, топография печатных проводников которой и расположение деталей приведены на рис.2. После пайки и проверки сборка покрывается с обеих сторон защитным слоем лака или какого-либо герметика для предотвращения утечки тока в условиях повышенной влажности. ![]()
Рис.2. Печатная плата с элементами монтажа гальванического электрошокера.
Что касается отладки устройства, то ее предпочтительно проводить при подключении к батарее с заведомо большей емкостью, чем у штатной, либо к сетевому адаптеру. Напряжение на электродах Х1, Х2 должно составлять 290—300 В. Отсутствие его при включенном питании указывает на наличие ошибок, допущенных во время монтажа. Чаще всего по причине перепутывания низковольтных обмоток трансформатора при пайке. В таком случае достаточно поменять местами выводы у L1 или L2. Когда генератор работает, напряжение на выходе достигает установившегося значения, как уже отмечалось, через 8—10 секунд. Если контрольный замер покажет, что это время не выдерживается, то требуемого результата добиваются подсоединением к наиболее подходящему отводу обмотки L3.
Приступая к повторной проверке, надо прежде всего разрядить конденсатор С2 через трехкилоомный резистор МЛТ-2. Весьма полезно определить время, в течение которого накопитель при выключенной подпитке удерживает заряд до уровня 200—250 В.
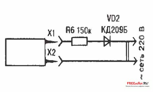
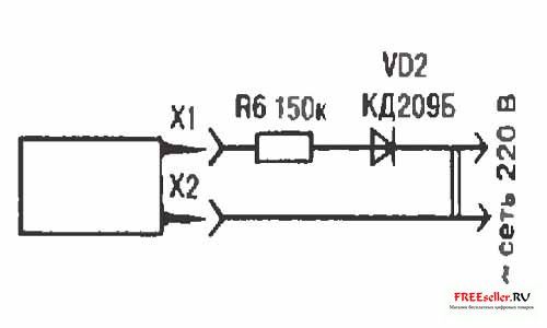
Следует иметь в виду, что у длительно бездействовавшего конденсатора возрастает ток утечки, то есть значительнее саморазряд. Для восстановления качества работы накопителя полезно провести получасовую формовку, подключив электроды Х1, Х2 к осветительной сети через простейшую выпрямительную цепочку (рис. 3). Если ввести ее в состав самого устройства, дополнив разъемом от старой электробритвы, то отпадет забота о соблюдении полярности присоединения. ![]()
Рис.3. Схема приспособления для формовки накопительного конденсатора.
Выполняя окончательную доводку устройства, имеет смысл попытаться ускорить его изготовку в «боевых» условиях, уменьшив сопротивление резистора R3 (рис. 1) в полтора — два раза. Такой эксперимент лучше проводить совместно со штатной батарейкой. Приемлемым можно считать результат, когда выходное напряжение на холостом ходу и при свежей батарее остается близким к заданному, а работоспособность источника сохраняется в течение хотя бы одного часа. ![]()
Рис.4. Гальванический электрошокер в ждущем режиме:
1 – электрод, 2 – упор предохранитель, 3 – чехол-изолятор, 4 – электрод полосковой (2шт.)
Корпус для устройства желательно подобрать готовый. Например, пластмассовый футляр призматической формы со скругленными ребрами и углами. Выключатель питания следует укрепить повернутым в направлении диагонали боковой стенки (рис. 5), такое положение позволит без затруднений, на ощупь определять включенное (выключенное) состояние прибора. ![]()
Рис.5. Компоновка гальванического электрошокера.
Конические стальные электроды неплохо сделать сменными, длиной 5—6 мм и 10—12 мм, используя их соответственно летом и зимой. Для предохранения электродов от деформации, а также во избежание случайных прикосновений к ним (при заряженном накопителе) целесообразно иметь чехол из изоляционного материала. Такой чехол можно пристегнуть изнутри к карману, сумочке (рис. 4) и держать там устройство остриями вниз в готовности к незамедлительному использованию. Наряду с этим весьма полезными могут оказаться две токопроводящие полосы на передней оконечности корпуса, каждая из которых электрически связана со своим электродом. Выполненные, например, из алюминиевой пластины толщиной 0,3—0,5 мм, они особенно пригодятся в ситуациях, когда нападающий, скажем, успеет перехватить прибор прежде, чем электроды-острия коснутся его тела: электрический удар все равно не минует злоумышленника — разрядится через токопроводящие полосы.
И.Каскин