
Этот трактор разрабатывался в основном для транспортных целей. Он может буксировать тележку с грузом или небольшой бак емкостью около 100 л, чтобы поливать приусадебный участок или тушить очаги пожаров вдоль дорог.
Трактор весьма удачный - она маневренный, обладает высокой проходимостью. Его скорость достигает 37 км/ч. Всего же скоростей у трактора восемь - четыре вперед и столько же назад.
Рис. 1. Общий вид микротрактора «САП»:
I - кресло водителя, 2 - блок выключателей, 3 - ручка крышки капота, 4 - фара освещения, 5 - передний бампер, 6 - рычаги переключения скоростей и управления сцеплением, 7 - рычаг кикстартера, 8 - рычаг реверса, 9 - педаль тормоза, 10 - педаль газа.
Рис. 2. Компоновка микротрактора «САП»:
1 - передний мост, 2 - элементы рамы мотороллера «Тула-200», 3 - двигатель Т-200, 4 - бензобак, 5 - рулевое колесо, 6 - тяга реверса, 7- узел крепления задней полуоси, 8 - полуось, 9 - ступица заднего колеса со звездочкой, 10 - реверсивная главная передача, 11 - продольная тяга рулевого управления, 12 - ведущий вал и узел его крепления, 13 - рама микротрактора, 14 - поперечная тяга рулевой трапеции, 15 - узел крепления двигателя к раме, 16 - педаль тормоза, 17 - муфта ведущего вала.
А теперь об устройстве.
РАМА (рис. 3| трактора сварная. Она состоит из «подковы», согнутой из толстостенной буровой трубы 0 28 мм, двух уголков-поперечин и трубы 0 50 мм. Две стальные фигурные пластины в ее задней части предназначены для крепления промежуточных звездочек. Использование элементов рамы мотороллера Т-200 облегчило установку двигателя и навеску облицовки капота.
Рис. 3. Рама микротрактора:
1 - узел крепления двигателя, 2 - «подкова» (буровая стальная труба 0 28 мм), 3 - поперечина (стальной уголок 30 X X 30 мм), 4 - кронштейн, 5 - поперечина (стальной уголок 40X40 мм), 6 - фигурная пластина для крепления ведущего вала (стальной лист S -12 мм), 7 - поперечина (стальная труба 0 50 мм), 8 - болт Ml6X62.
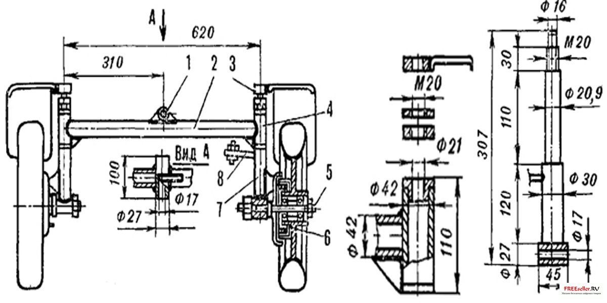
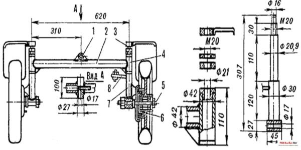
Рис. 4. Конструкция переднего моста:
1 - узел крепления переднего моста 2 - балка переднего моста, 3 - кронштейн переднего грязевого щитка, 4 - втулка цапфы, 5 - полуось, 6 - ступица переднего колеса с тормозным устройством, 7 - цапфа, 8 - поворотный рычаг.
РУЛЕВОЕ УПРАВЛЕНИЕ (рис. 5). Основой его является рулевой механизм - редуктор с коническими шестернями (передаточное отношение 1:3) от бензопилы «Дружба». Меньшая шестерня связана с рулевым колесом, а на вал большей надевается сошка, далее усилие с помощью продольной тяги передается на рычаг, приваренный к левой цапфе.
Рис. 5. Кинематика рулевого управления:
1 - рулевой механизм, 2 - сошка, 3 - продольная тяга, 4 - поперечная тяга, 5 - поворотная цапфа.
ТРАНСМИССИЯ. Крутящий момент на ведущей звездочке двигателя с помощью втулочно-роликовой цепи передается на главную дифференциальную передачу (рис. 6] с реверсивным устройством (от мотоколяски СЗА|, а далее также цепью на ступицы насаженных на полуоси колес.
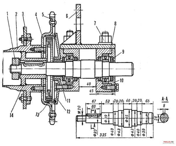
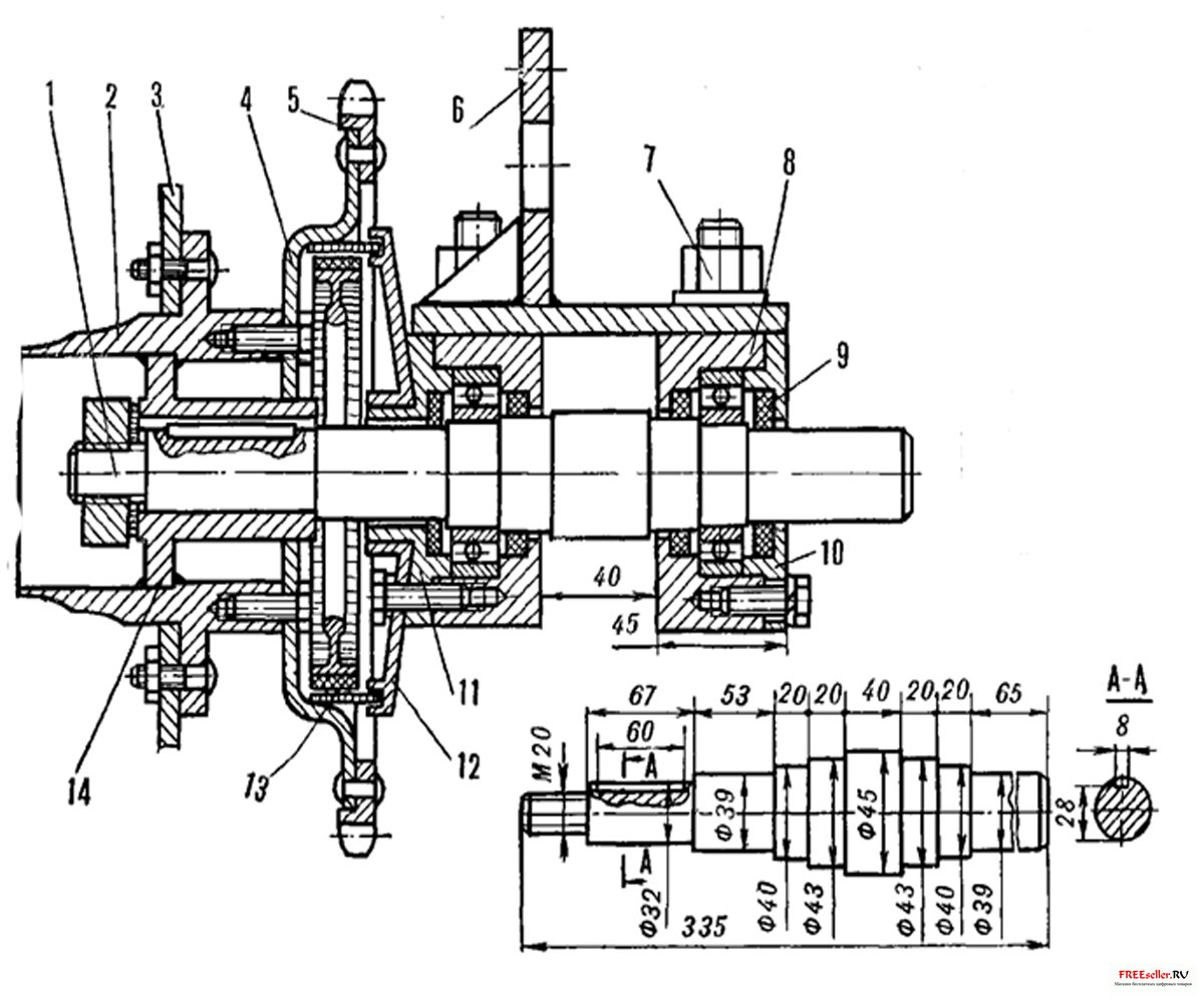
Рис. 6. Конструкция ведущего вала микротрактора «САП»:
1 - ведущий вал, 2 - стопорное кольцо, 3 - сальник, 4 - корпус крепления ведущего вала, 5 - ведущая звездочка, 6 - гайка, 7 - втулка, 8 - шариковый подшипник № 205.
ЗАДНИЙ МОСТ (рис. 7, рис. 8) является наиболее сложным агрегатом микротрактора, поэтому есть смысл описать его конструкцию подробней. Он состоит в основном из деталей от списанных автомобилей, поэтому основной трудностью при компоновке заднего моста было наиболее удачное их сочетание.
Ступицы колес от автомобиля ГАЗ-69. Для крепления на них ведомых звездочек штатные шпильки были заменены болтами, соответственно этому были доработаны посадочные места дисков колес. Кстати, для того чтобы сделать задний мост более компактным, мы их перевернули - внутренняя часть дисков стала наружной.
Наиболее сложные и ответственные узлы и детали трактора (в основном те, которые делались нами самостоятельно) показаны на рисунках и чертежах.
Рис. 7, рис.8 Задний мост микротрактора:
1 - полуось, 2 - ступица колеса (от автомобиля ГАЗ-69), 3 - диск колеса от автомобиля ГАЗ-69 или УАЗ-469). 4 - тормозной барабан (мотороллер «Вятка» ВП-150), 5 - ведомая звездочка, 6 - плита крепления полуоси, 7 - болт с гайкой - крепление корпуса подшипника, 8 - корпус подшипника, 9 - сальник, 10 - крышка корпуса подшипника, 11 - втулка, 12 - корпус тормозной колодки, 13 - тормозная колодка, 14 - фланец.
Трактор обладает хорошей проходимостью не только летом, но и зимой. Его передние колеса заменяются на лыжи. Такой же операции можно подвергнуть и прицеп - двухколесную тележку.
Внешний вид готового трактора показан на рис. 9
Рис. 9 Внешний вид микротрактора Сап