
Чертежи самодельного микро то трактора Амурчонок из деталей автомобилей ГАЗ 51, Москвич, Маз и других машин.
Вся конструкция микро трактора (рис. 1 и рис.2) разрабатывалась под двигатель ПД-10А в комплекте с редуктором и муфтой включения от списанного трактора ДТ-54А. Использование дополнительно коробки передач от автомобиля ГАЗ-51 позволило получить восемь передних и две задние скорости.
Двигатель трактора подвергся небольшой переделке. Головка блока цилиндра подрезана, чтобы степень сжатия несколько повысилась. Дополнительный вал позволил несколько удлинить вал регулятора оборотов, обеспечив таким образом привод вентилятора, помпы и генератора. Для удобства запуска на двигателе установлен стартер с электромагнитным включателем от автомобиля ЗИЛ-130.
Муфта включения редуктора оставлена без изменения; рычаг включения развернут на 180° и соединен с тягой рукоятки управления. Привод к коробке передач - цепной.
Система охлаждения - водяная.
Принудительную циркуляцию обеспечивает помпа от автомобиля МАЗ-200. Вентилятор с кронштейном и основанием для подшипников - самодельные. Радиатор от передвижного генератора киноустановки переделан по месту.
Рама (см. рис. 4) изготовлена из двутавровых балок № 10. К ее середине приварены две траверсы для крепления рулевой колонки и редуктора двигателя. Задний мост крепится к раме жестко.,/p>
Ходовая часть.
Задний мост (рис. 4) - от автомобиля ГАЗ-51 - укорочен, как показано на рисунке. Балка переднего моста (рис. 4) самодельная, из трубы 0 36 мм.
Тормоза гидравлические.
Главный тормозной цилиндр и другие элементы тормозной системы от автомобиля ГАЗ-51. Задние колеса - от ГАЗ-51, передние - от сеялки, их размер 4,5X9.
Рулевое управление (см. рис. 5) состоит из серийных и самодельных деталей. Так, колонка взята от ГАЗ-51, продольная тяга - от мотоколяски СЗА, а рулевое колесо и поперечная тяга самодельные.
Детали облицовки трактора, так же как и бензобак, сделаны самостоятельно. Другие части подбирались от различных серийных машин: аккумулятор - от ЗИЛ-130, генератор - от ДТ-54А, топливный насос от лодочного мотора «Москва», а глушитель - от ИЖ-56. Есть на «Амурчонке» даже гидропривод: гидроцилиндр от колесного комбайна и насос от ГАЗ-93.
Трактор был сконструирован и собран всего за год. Он стал надежным помощником при работах на маленьких участках, где большие машины использовать нерационально.
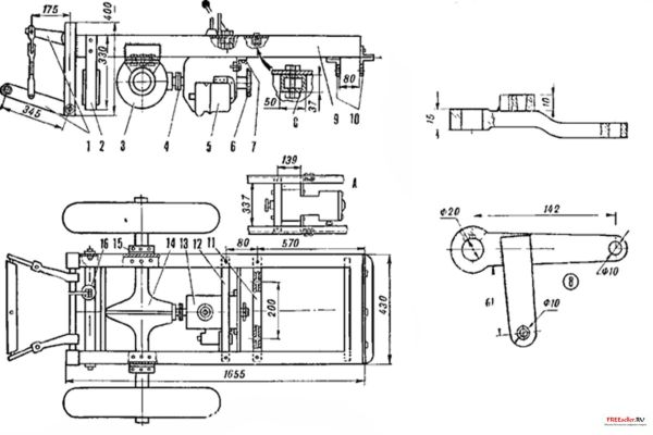
Рис. 1, рис.2 Микротрактор «Амурчонок»:
1 - основание системы гидронавески; 2 - указатель поворотов и стоп-сигнал; 3 - бензобак; 4 - рычаг управления муфтой сцепления; 5 - педаль тормоза; 6 - рычаг переключения передач; 7 - щиток приборов; 8 - рулевая сошка; 9 - приводной ремень вентилятора; 10 - указатель поворота; 11 - инструментальный ящик; 12 - задний мост; 13 - коробка перемены передач; 14 - редуктор; 15 - маслонасос ГАЭ-93; 16 - генератор ДТ-54А; 17 - понижающий редуктор; 18 - продольная рулевая тяга; 19 - двигатель ПД-10А; 20 - тяга переключения передач; 21 - педаль понижающего редуктора; 22 - педаль маслонасоса.
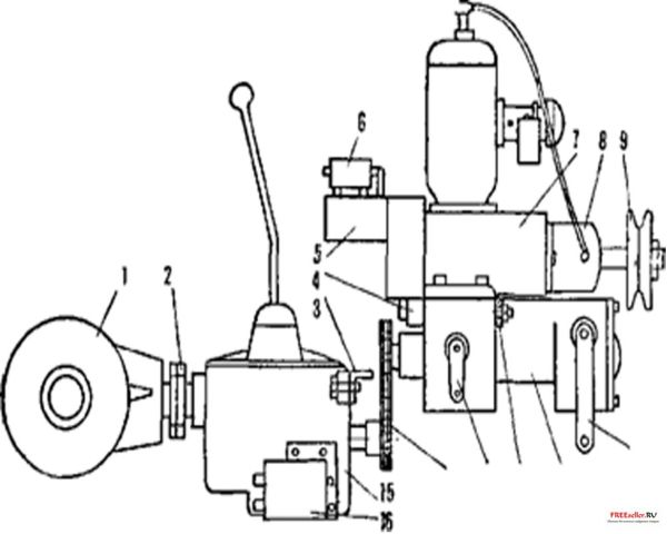
Рис. 3. Схема соединения силовых агрегатов:
1 - задний мост; 2 - фланцы КПП и заднего моста; 3 - кронштейн крепления КПП; 4 - кронштейн крепления редуктора; 5 - стартер; 6 - электромагнитный включатель стартера; 7- двигатель ПД-10А; 8 - магнето; 9 - шкив привода вентилятора; 10 - рычаг сцепления; 11 - понижающий редуктор; 12 - правый кронштейн крепления редуктора; 13 - рычаг включения пониженной передачи; 14 - цепь; 15 - КПП; 16 - маслонасос ГАЗ-93.
Рис. 4. Крепление заднего моста и редуктора к раме:
1 - рычаги гидронавески; 2 - кронштейн крепления силового цилиндра; 3 - задний мост; 4 - фланцы; 5 - маслонасос; 6 - ведомая звездочка КПП; 7 - кронштейн крепления КПП; 8, 11, 12 - кронштейны крепления редуктора; 9 - рама; 10 - кронштейны крепления переднего моста; 13 - коробка КПП; 14 - задний мост; 15 - кронштейн крепления заднего моста; 16 - силовой цилиндр гидронавески. А - схема крепления двигателя
Рис.5. Схема рулевого управления:
1 - балка переднего моста; 2 - втулка цапфы; 3 - поворотная цапфа; 4 - втулка оси; 5 - узел подвижного крепления переднего моста; 6 - рулевой механизм; 7 - переднее крыло; 8 - правый поворотный рычаг; 9 - передняя ось; 10 - ступица переднего колеса.
В.Н. Лукьяненнко ( публикация из журнала Моделист Конструктор 1976 02)