Схема простого металлоискателя

  • Опубликовано: 22 декабря 2009


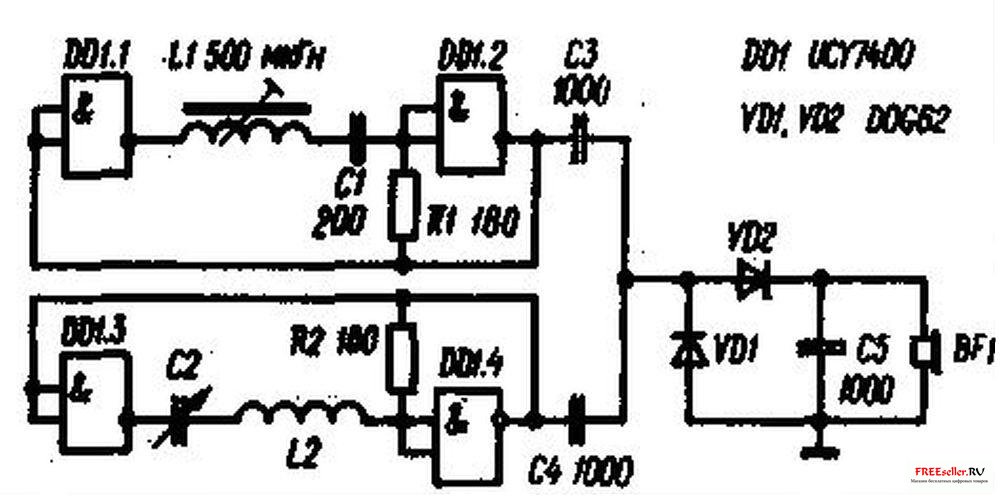
Схема простого металлоискателя. Металлоискатель, схема которого приведена на рисунке, можно собрать всего за несколько минут. Он состоит из двух практически идентичных LC-генераторов, выполненных на элементах DD1.1-DD1.4, детектора по схеме удвоения выпрямленного напряжения на диодах VDI, VD2 и высокоомных (2 кОм) головных телефонов BFI, изменение тональности звучания которых с свидетельствует о наличии под катушкой-антенной металлического предмета.


Генератор, собранный на элементах DD1.1 и DD1.2. самовозбуждается на частоте резонанса последовательного колебательного контура L1CI, настроенного на частоту 465 кГц (использованы элементы фильтра ПЧ супергетеродинного приемника). Частота второго генератора (DD1.3. DD1.4) определяется индуктивностью катушки-антенны L2 (30 витков провода ПЭЛ 0,4 на оправке диаметром 200 мм) и емкостью конденсатора переменной емкости С2, позволяющего перед поиском настроить металлоискатель на обнаружение предметов определенном массы.


Рис.1. Схема простого металлоискателя

Биения, возникшие в результате смешения колебания обоях генераторов, детектируются диодами VD1, VD2, фильтруются конденсатором С5 и поступают на головные телефоны BF1.

Все устройство собрано на небольшой печатной плате, что позволяет при питании от плоской батареи для карманного фонаря сделать то очень компактным и удобным в обращении.

При повторении металлоискателя можно использовать микросхему К 155ДАЗ,любые высокочастотные германиеяые диоды и КПЕ от радиоприемника "Альпинист".

Радио 2-85, с.61



0

комментариев

54 489

просмотров

Похожие самоделки

Имя:*
E-Mail:


0

Песочница RSSРеклама на сайтеFreeseller.ru - Полезные самоделки
Copyright © 2008-2025