Миниатюрный низковольтный паяльник своими руками

  • Опубликовано: 14 января 2009

Миниатюрный низковольтный паяльник своими руками


Потому, что паяльники промышленного производства не во всем удовлетворяют требованиям радиолюбителей, многие из них не оставляют попыток разработать более удобную, а главное — дешевую конструкцию электропаяльника. Паяльник был и пока остается основным монтажным инструментом радиолюбителя.


От функциональных возможностей, удобства, да и внешнего вида инструмента во многом зависит как ход работы, так и ее результат. Для монтажа миниатюрных радиодеталей и микросхем, включая компоненты, чувствительные к наводкам и статическому электричеству, мною разработана дешевая конструкция миниатюрного низковольтного паяльника. Его рабочее напряжение - 6 В, мощность - 12...15 Вт. Наружный диаметр нагревательного узла - 5,5 мм. К особенностям можно отнести малые габариты и массу, легкость в изготовлении, простоту смены паяльного стержня, аккуратный внешний вид. Конструкция выполнена с учетом возможностей домашней мастерской и состоит из небольшого числа деталей, не требующих для своего изготовления токарного станка.


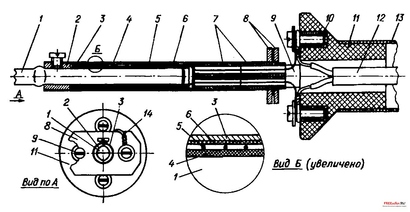
Основа паяльника - нагревательный узел. Его кожух 3 (см. рисунок) представляет собой тонкостенную металлическую трубку, внутри которой размещены втулка 2 со стопорным винтом для фиксации паяльного стержня 1, керамическая трубка 4 с навитым на нее проволочным нагревательным элементом 5. От кожуха нагревательный элемент отделен слюдяной трубкой 6. Выводы нагревательного элемента пропущены через изолирующие керамические трубки 7 малого диаметра и электрически соединены с проводами-кабеля питания 12 винтами с шайбами, которые закреплены на торце передней пробки 11 ручки паяльника с помощью резьбовых втулок 10. Втулки вклеены в отверстия, просверленные в пробке 11.

 

Миниатюрный низковольтный паяльник своими руками

 

Рис. 1 Миниатюрный низковольтный паяльник: 1 - стержень, 2 - втулка со стопорным винтом, 3 - кожух паяльника, 4 - керамическая трубка, 5 - проволочный нагревательный элемент, 6 - слюдяная трубка, 7 - керамические трубки малого диаметра, 8 - фланцы, 9 - втулка стойка, 10 - резьбовая втулка, 11 - передняя пробка ручки, 12 - кабель питания паяльника , 13 - трубчатый корпус паяльника, 14 - провод заземления.


Кожух нагревательного узла также привинчен к передней пробке ручки. Для этого конец трубки кожуха надрезан бокорезами по образующим на длину 2...3 мм от края и лепестки пинцетом отогнуты под углом 90 град, так, что получился "цветок ромашки" с лепестками шириной около 1 мм. Лепестки кожуха 3 зажаты между фланцами 8, под пакет фланцев подложены две втулки-стойки 9, и двумя длинными винтами М2 весь узел прикреплен к торцу передней пробки ручки. К одному из винтов подведен провод заземления 14. Для крепления фланцев предусмотрена еще одна пара резьбовых втулок 10, вклеенных в торец пробки. Резьбовые втулки надо располагать так, чтобы фланцы не закрывали винтов крепления проводников питания. Кожух 3 изготовлен из металлического большеобъемного стержня шариковой ручки, у которого обрезана коническая часть с пишущим узлом. В качестве заготовки кожуха подойдет подходящий элемент от старой телескопической антенны радиоприемника. Втулку 2 можно изготовить из стали или латуни. Внешний диаметр должен быть таким, чтобы втулка с усилием входила в кожух, а внутренний - 3 мм. Резьба под стопорный винт - М2. Осевая длина втулки - около 6 мм. Важно, чтобы несоосность внутреннего и внешнего диаметров втулки не превышала 0,05...0,1 мм. В качестве керамических элементов нагревателя использованы трубчатые постоянные конденсаторы (серии КТК и др.). У них отпаивают проволочные выводы, растворителем удаляют краску и мелкой наждачной бумагой снимают внешнее металлическое напыление.

Для нагревательного элемента потребуется кусок спирали бытовой электроплитки, имеющий сопротивление 2,5...3 Ом (целесообразно предусмотреть технологический припуск в 30...40 мм). Проволоку тщательно выравнивают и сгибают пополам с радиусом около 0,5 мм в месте сгиба. Затем получившуюся пару проводов навивают с шагом 0,5...0,7 мм, начиная от сгиба, на хвостовик сверла диаметром, примерно на 0,5 мм меньшим диаметра используемой керамической трубки. Навивка должна быть короче трубки примерно на 3 мм. Выводы спирали сгибают так, чтобы они находились диаметрально противоположно один другому. Керамическую трубку, вращая, вводят в спираль. Расстояние между краями спирали и торцами трубки должно быть равно 1...1.5 мм. Тонкой отверткой или лезвием ножа выравнивают зазор между отдельными витками спирали.


Фланцы 8 вырезают из листовой стали толщиной 0.7...1 мм. Ручка паяльника - сборная. Переднюю и заднюю пробки изготавливают из деревянной катушки для ниток. Пустую катушку разрезают пополам. Во фланце передней пробки 11 сверлят отверстия, в которые на синтетическом клее устанавливают втулки 10 с внутренней резьбой М2 под винты крепления корпуса нагревателя и токопровода. Если пробку (или ручку) изготовить из плотной древесины (например, из бука), можно отказаться от резьбовых втулок и крепить выводы нагревателя и пакет фланцев шурупами. Трубчатый корпус 13 ручки длиной 90...100 мм склеен из плотной бумаги на оправке подходящего диаметра. Заднюю пробку (на чертеже она не показана) изготовляют из второй половины катушки, срезав ножом излишки древесины. Обе пробки вклеивают в корпус синтетическим клеем. Если не нашлось готовых втулок-стоек 9 (наружный диаметр - 5...6 мм, внутренний - 2.1...3 мм, длина - 4,4...7 мм), их можно заменить удлиненными гайками с резьбой М2,5 или МЗ. В крайнем случае допустимо каждую втулку заменить столбиком из трех-четырех гаек МЗ. Сначала собирают нагреватель. Пластину слюды от пришедшего в негодность заводского электропаяльника ЭПСН-40/220 сворачивают в трубку длиной, на 2...3 мм большей длины керамической трубки нагревательного элемента. Слюда будет более гибкой, если ее осторожно прокалить в пламени. Эту слюдяную трубку 6 вставляют в кожух и втулкой 2 сдвигают ее глубже, в рабочее положение. Просвет в кожухе 3 в сборе со слюдяной трубкой 6 должен быть таким, чтобы нагревательный элемент не только без усилия входил внутрь, но и зазор не превышал нескольких десятых долей миллиметра.


Кожух продевают в центральное отверстие одного из фланцев 8, с другого конца прижимают второй фланец 8 и предварительно сжимают их двумя винтами с гайками. На выводы нагревательного элемента надевают изоляционные керамические трубки 7 и отгибают выводы в противоположные стороны. Нагревательный элемент вставляют в кожух со стороны фланцев. С передней стороны в кожух вставляют втулку 2. Целесообразно между ней и слюдяной трубкой 6 предусмотреть слюдяную шайбу толщиной 0,2...0,3 мм, которая предотвратит случайное замыкание конца спирали на втулку. Втулку фиксируют стопорным винтом. Двумя длинными винтами М2 крепят пакет фланцев 8 к ручке, подложив втулки-стойки 9. Пропускают через осевое отверстие в ручке кабель питания 12 и привинчивают концы его проводников вместе с выводами нагревателя, при этом излишки длины выводов обрезают. Остается во втулку 2 вставить паяльный стержень 1, закрепить его винтом - и инструмент готов. Стержень изготовляют из жесткой медной проволоки диаметром 3 мм. Заготовку стержня молотком слегка расплющивают примерно посредине. Это утолщение будет служить упором, предотвращающим слишком глубокое погружение хвостовика стержня в канал нагревателя паяльника - конец хвостовика не должен доходить до края трубки нагревательного элемента на 1,5...2 мм.


Необходимо иметь в виду, что весьма малая толщина, а значит, и малая прочность керамической трубки нагревательного элемента требуют точной подгонки формы и размеров хвостовика паяльного стержня. Хвостовик должен без заедания и с минимальным люфтом входить в нагреватель. По этой же причине паяльник следует оберегать от ударов и больших механических нагрузок на паяльный стержень. Формовку жала паяльного стержня лучше выполнить молотком (а не напильником) - это повысит его стойкость к растворению в припое. "Вылет" стержня из паяльника (длина рабочей части стержня) не должен быть большим половины длины хвостовика, иначе жало будет быстро охлаждаться при пайке, что сразу же негативно скажется на качестве соединения. Целесообразно иметь комплект паяльных стержней с разной формой жала. Смена стержня отнимает всего несколько секунд. Если нет необходимости часто его менять, то и в этом случае при интенсивном пользовании паяльником полезно хотя бы раз в неделю изымать стержень, высыпать из канала темный порошок окиси меди и устанавливать на место. Эта мера предотвратит заклинивание стержня в нагревателе и неизбежную поломку керамической трубки.


Питать паяльник необходимо от вторичной обмотки разделительного понижающего трансформатора с хорошей межобмоточной изоляцией. Желательно предусмотреть возможность регулирования питающего паяльник напряжения. В описании предлагаемой конструкции указаны лишь справочные размеры. Они могут быть изменены в широких пределах в зависимости от деталей и материалов, которыми располагает радиолюбитель.

Источник информации: П. Полянский, г. Москва

Похожие самоделки

Комментариев 3
  1. дайте позитива 8)
    +1
Имя:*
E-Mail:


Песочница RSSРеклама на сайтеFreeseller.ru - Полезные самоделки
Copyright © 2008-2025