
Когда возникает необходимость отремонтировать радиоприемник, реле, другой автомобильный прибор, без пайки, бывает, не обойтись.
Уже несколько лет для этих целей мы успешно применяем показанный на рисунке самодельный паяльник, питающийся от электросети автомобиля.
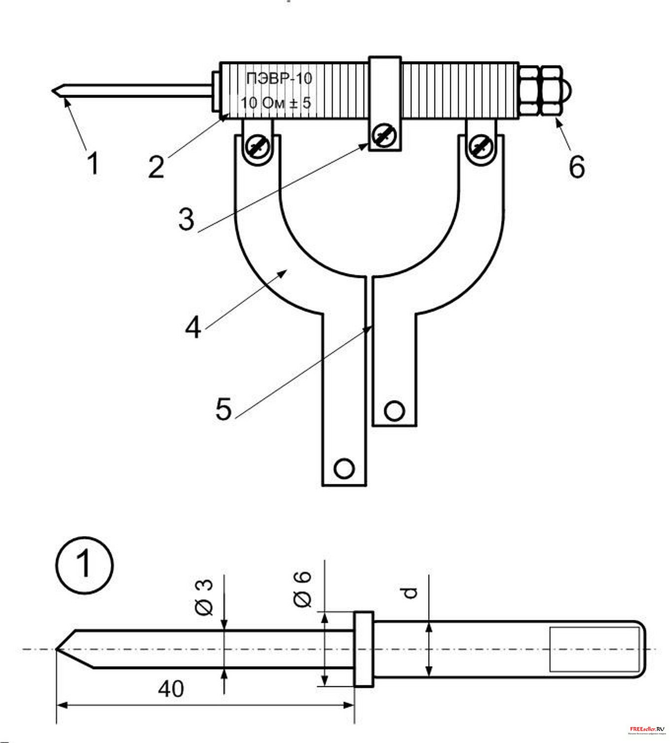
В проволочный резистор ПЭВР-10 сопротивлением 10 Ом ± 5 (его можно купить в магазине радиодеталей) вставлено дообработанное жало от старого паяльника. Из фольгированного гетинакса толщиной 3 мм изготовлен держатель 4. Один провод питания присоединен к ножке держателя, другой - к бегунку 3. Для удобства пользования паяльником держатель вставлен в ручку от старой переносной лампы.
Этим инструментом можно паять и микросхемы, если для заземления соединить жало с платой дополнительным проводом, снабженным зажимом «крокодил».
Л. Иванов, А. Рубцов Горьковская область, г. Дзержинск
Сборник "Паяльники и припои" составленный А.Н. Борисовым 2004