Маломощный миниатюрный паяльник своими руками

  • Опубликовано: 14 января 2009

Маломощный миниатюрный паяльник своими руками


Предлагаем вашему вниманию два самодельных миниатюрных паяльника, наиболее доступных в изготовлении и удовлетворяющих требованиям к монтажу миниатюрных электронных изделий.


Первая конструкция, представленная на рисунке 1, предназначена для монтажа транзисторов и микросхем на печатных платах. Мощность паяльника около 7 Вт. Напряжение питания 6,3 В.

 

Маломощный миниатюрный паяльник своими руками

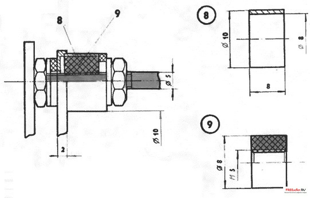
Рис. 1: 1 - шайба 2 - втулка; 3 - основание: 4 - колпачок; 5 - стеклоткань; 6 -трубка; 7 - жало; 8 стопор; 9 - асбестовая нить; 10 - нагревательная спираль; 11 - ручка.

Конструкция паяльника традиционна. К ручке, изготовленной из изоляционного материала, прикреплена медная трубка, в которую запрессовано жало. На медную трубку намотано 2-3 слоя стеклоткани, по которой навивается нагревательная спираль. Снаружи спираль изолируется асбестовой нитью. Весь нагревательный элемент закрыт металлическим колпачком от многостержневой шариковой авторучки. Сборка паяльника производится в такой последовательности. Трубку разогревают мощным паяльником и напрессовывают на хвостовик стального основания. Для большей надежности в месте крепления па трубке просверлите отверстие диаметром 0,8-1 мм и расклепайте в нем отрезок стальной проволоки или гвоздя. На трубку наматывают два слоя стеклоткани шириной 40 мм и нихромовую спираль. Спиралью служит нихромовый провод диаметром 0,35 мм (спираль электроутюга) общим сопротивлением 5-5,6 Ом. Начало и конец обмотки скручивают с промежуточными отрезками длиной 100 мм медного провода диаметром 0,6 мм. Начало обмотки закрепляют на трубке возможно ближе к жалу и наматывают нихромовый провод с шагом 0,3 мм. Затем наматывают на нагреватель тонкий асбестовый шнур.

К ручке привинчивают шайбу и пропускают сквозь отверстие в ручке и шайбе шнур питания, свитый из трех изолированных гибких проводников Их пропускают сквозь три отверстия в основании и привинчивают его к шайбе, установив три втулки. Изоляцию в месте прохода через отверстия в основании следует дополнительно усилить двумя-тремя слоями стеклоткани. Один из проводов с помощью бандажа из голого медного провода присоединяют к хвостовику основания, этот проводник служит для заземления жала паяльника во время работы. Остальные два предназначены для подключения нагревателя к источнику тока. На нагреватель надевают защитный кожух и фиксируют его стопором, изготовленным из пружинной проволоки.

Трансформатор для питания паяльника должен иметь хорошую межобмоточную изоляцию Ток вторичной обмотки около 1 А.

 

Вторая конструкция.
Особенностью второй конструкции (рис. 2 и рис 3 ) является устройство нагревателя, он изготовлен из графита и навинчен непосредственно на жало паяльника. По конструкции паяльник очень прост. Жало изготовляют из медного прутка диаметром 5 мм и нарезают на нем резьбу М5. На резьбу до упора навинчивают гайку и надевают металлическую шайбу (рис. 4). Затем надевают слюдяную прокладку толщиной около 0,5 мм и осторожно навинчивают нагреватель.

 


Маломощный миниатюрный паяльник своими руками
Маломощный миниатюрный паяльник своими руками

 

Рис. 2,3: 1 - ручка; 2 - кронштейн; 3 - жало, 4 - слюдяная прокладка; 5 - нагреватель в сборке; 6 - лепесток; 7 - слюдяная прокладка; 8 - трубка; 9 - графитовый стержень.


Нагреватель изготовлен следующим образом. В отрезок медной трубки плотно вставляют и стачивают заподлицо с краями графитовый цилиндр. Графит можно использовать от гальванических элементов или коллекторных щеток электродвигателя. Вдоль оси цилиндра сверлят отверстие диаметром 4 мм и осторожно нарезают резьбу М5. При навинчивании на жало резьба претерпевает значительный износ, поэтому необходимо, чтобы резьба на жале была достаточно чистой, а длина ее минимальной. Нагреватель навинчивают до упора в слюдяную прокладку. Затем на жало надевают шайбу-лепесток так, чтобы медная трубка нагревателя вошла в углубление лепестка, и надевают вторую слюдяную прокладку, вторую металлическую шайбу и весь пакет затягивают гайкой М5. К кронштейну жало с нагревателем крепят такой же гайкой. Стальной кронштейн толщиной 3,5 мм прикреплен к ручке паяльника шурупами и служит токопроводником нагревателя. Второй проводник привинчивают к шайбе-лепестку.


Рабочее напряжение паяльника около 1 В, ток примерно 15 А. Питается паяльник от сети через понижающий трансформатор. В связи с тем, что ток нагревателя значителен, подводящие гибкие проводники должны иметь сечение не менее 3x3 мм. Время разогрева жала до рабочей темпера-туры не превышает 2 мин. Если увеличить ток нагревателя, можно уменьшить время нагрева до нескольких секунд. Паяльник отличается большой долговечностью, поскольку его нагреватель теплостоек и практически изолирован от кислорода воздуха.

Источник информации: Левша 1992 №1 Сборник "Паяльники и припои" составленный А.Н. Борисовым 2004

Похожие самоделки

Имя:*
E-Mail:


Песочница RSSРеклама на сайтеFreeseller.ru - Полезные самоделки
Copyright © 2008-2025