
Этот самодельный электропаяльник отличается от обычного спирального тем, что в нем роль нагревательного элемента выполняет графитопесчаная смесь.
Конструкция паяльника, рассчитанного на напряжение 6-36 в, и его детали показаны па рис. 1. В цилиндрический корпус нагревательного элемента 3 ввернут сменный паяющий стержень 4, а в полую часть элемента насыпана графитопесчаная смесь 8 в соотношении 1 : 3 или 1 : 2 (одна часть по объему промышленного графита или натертого шкуркой из графитового стержня по две-три части речного песка) - в зависимости от требуемой мощности паяльника. С другой стороны в элемент ввернута трубка 1 (корпус) с изолированными от нее штоком 2 и стержневым электродом 7. Изоляция осуществляется изоляторами, 5 и 6 из теплостойкого материала, например асбестоцемента.
Рис. 1. Детали паяльника: 1 - корпус паяльника, латунь или сталь; 2 - шток, сталь; 3 - корпус нагревателя, дюралюминий Д-16, Латунь или медь; 4 - паяющий стержень, медь; 5 - изолятор, асбестоцемент; 6 - изолятор проходной, асбестоцемент; 7 - электрод нагревателя, сталь; 8 - графитопесчаная смесь.
Соединительные провода подключают к лепестку штока и трубчатому корпусу, после чего собранную конструкцию крепят в ручке. Ток, проходящий через графитопесчаную смесь, нагревает ее, а следовательно, и паяющий стержень. Поскольку графит является хорошим проводником электричества, а песок плохим, то, меняя соотношение смеси, можно изготавливать паяльники, рассчитанные на разные мощности и напряжения, в том числе на малые напряжения, например на 6 в. Контактной системой электропаяльника может быть цоколь автомобильной лампы (рис. 2). Тогда его можно будет вставлять в патрон автомобильной переносной лампы вместо лампочки подсвета и подключать к аккумуляторной батарее. Срок службы электропаяльника очень высок, так как наполняющая его смесь не перегорает, а паяющий стержень может быть легко заменен на другой после обгорания или на стержень меньшего или большего диаметра.

Рис. 2. Паяльник, вставляемый в патрон автомобильной лампы-переноски.
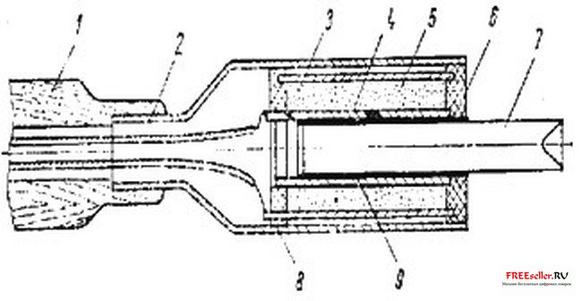
На рис. 3 показана конструкция такого же электропаяльника, но рассчитанного на питание от сети переменного тока. С целью безопасности работы с этим паяльником оба электрода его нагревательного элемента изолированы как от корпуса, так и от паяющего стержня. Нагревательный элемент состоит из двух трубок-электродов разного диаметра, между которыми насыпана смесь графита и песка в соотношении 1 : 6 (по объему) - для сети напряжением 127 в или 1 : 7, 1 : 8 - для сети напряжением 220 в. Трубки между собой и общим корпусом изолированы кольцами из асбестоцемента, а паяльный стержень изолирован от внутренней трубки слюдяной прокладкой, свернутой в цилиндр. Токонесущие провода подсоединяют к удлиненным концам трубок-электродов.
Рис. 3. Конструкция паяльника, рассчитанного на питание от электросети: 1 - ручка; 2 - корпус; 3 и 4 - электроды, нагревателя; 5 - графитопесчаная смесь; 6 и 8 - изоляторы; 7 - паяющий стержень; 9 - прокладка слюдяная.
Преимущество такого паяльника в том, что в нем нет спирали и, как следствие, в нем нечему перегорать. Этот принцип можно использовать и в других нагревательных устройствах. Все новое - это хорошо забытое старое!
И. СЕМЕНИХИН
Радио № 2, 1970 г.
Сборник "Паяльники и припои" составленный А.Н. Борисовым 2004