Схема устройства для увеличения яркости ламп

  • Опубликовано: 2 февраля 2009

 

Вечером, когда нагрузка в электрической сети возрастает,  во многих старых домах или на дачах  падает напряжение и лампы накаливания начинают светить тускло.



Но стоит запитать их через простое устройство,  схема которого показана на рисунке 1, лампочки будут светиться в полный накал.


Схема устройства для увеличения яркости ламп 

Рис.1. Принципиальная схема устройства.

 

Принцип работы устройства


Когда на устройство подается пониженное напряжение сети, то через диоды VD1, VD2 заряжаются оксидные конденсаторы С1, С2.

Напряжение на них, и на лампочке будет зависеть:

- от емкости конденсаторов
- и сопротивления нагрузки (мощности лампы)
- и может превысить напряжение сети в 1,4 раза.


Собрать такое устройство своими руками не сложно,  дефицитных материалов и деталей тоже не потребуется.

Необходимо купить в магазине радиодеталей или взять от какой-нибудь старой техники:

- 2 диода Д7Ж или Д226Б

- 2 оксидных конденсатора типа К50-12 на 20 мкф, 450 В.


А все остальные материалы можно найти в каждом доме.

Изготовление прибора от тусклого свечения ламп


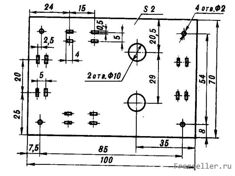
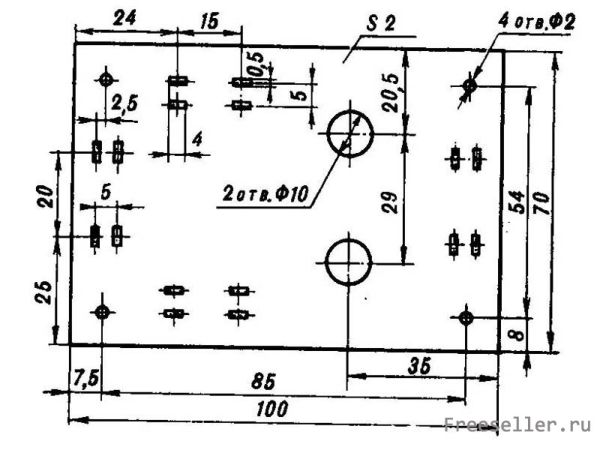
1)  Возьмите кусок плотного картона толщиной 2 мм и вырежьте из него плату размером 100X70 мм. Вместо картона можно использовать любой изоляционный материал: тонкую фанеру, листовой пластик.


2)   Затем сделайте в плате ряд отверстий для установки лепестков и конденсаторов (см рисунок  2). Отверстия можно проколоть по их контурам шилом.

 


Рис.2. Плата устройства.

3)  Далее из белой жести (подойдет жесть от консервной банки) вырежьте контактную пластину размером 63 х 30 мм и сделайте в ней два отверстия под конденсаторы (см. рис. 3).

 


 Рис.3. Контактная пластина.


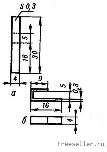
4)  Из того же материала вырежьте восемь заготовок размером 30 х 4 мм (рис. 4а) и сделайте из них лепестки (рис. 46).

 

 

Рис. 4 Контактная пластина: а - заготовка, б - готовое изделие.


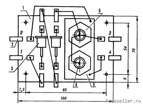
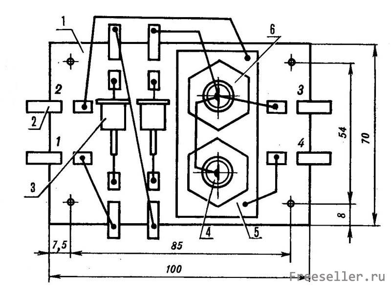
5) Лепестки вставьте в прорези на плате, длинной стороной ближе к краю, и отогните в противоположные стороны. Затем установите на плате два конденсатора, наденьте контактную пластину, навинтите гайки и приступайте к сборке устройства в соответствии с монтажной схемой (рис. 5). Сначала припаяйте диоды, а затем выполните соединения любым изолированным монтажным проводом сечением 0,2—0,5 мм2.

 

 

Рис.5. Монтажная схема устройства: 1 - плата, 2 - лепесток, 3 - диод, 4 - конденсатор К50-12, 5 - контактная пластина, 6 - гайка

Готовую плату поместите в защитный кожух подходящих размеров. Его можно склеить из жесткого картона. Сетевой шнур подсоедините к лепесткам 1 - 2, а к выводам 3 - 4 подключите провода от настольной лампы. Для этого в боковых стенках футляра сделайте соответствующие отверстия.

Данное устройство рассчитано на электролампу мощностью 40 Вт и на напряжение 220 В. Если же окажется, что она горит с перекалом, замените указанную лампу 60-ваттной. И наоборот, когда недокал значительный (при большом падении напряжения в сети), вверните лампу на 25 Вт, 220 В.

Если напряжение в сети колеблется в течение вечера, нужно предусмотреть возможность отключения приставки при возрастании напряжения. Для этого на ее корпусе установите сетевую розетку и подсоедините ее к лепесткам 3-4 на плате. Теперь в зависимости от состояния напряжения в сети вилку настольной лампы подключают либо к сетевой розетке, либо к приставке.

С. Панщенко, г. Харьков

Источник информации: Моделист Конструктор 1991 02

Похожие самоделки

Имя:*
E-Mail:


Песочница RSSРеклама на сайтеFreeseller.ru - Полезные самоделки
Copyright © 2008-2025