
Конструкция самодельного грузового прицепа для мотоцикла. Публикуемая сегодня — одна из последних и наиболее интересных.
Прицеп можно сделать даже в домашних условиях с минимальным использованием металлорежущих станков - при наличии только сварочного аппарата, электрической дрели и слесарного инструмента. ![]()
Рис.1. Общий вид самодельного прицепа для мотоцикла:
1 - шарнир шаровой; 2 - дышло; 3 - катафоты (6 шт.); 4 - борт кузова (фанера, s 16); 5 - крыло (сталь 15, s2); 6 - фонарь ФП-132; 7 - скоба (СтЗ, пруток 010); 8 - колесо (3,5x18"); 9 - кронштейн крепления передней опоры (СтЗ, лист s5); 10 - опора передняя (сталь 15, труба 20x20x2,5); 11 - разъем электрический ОНЦ-ВН; 12 - цепь страховочная; 13 - кронштейн крепления крыла (СтЗ, полоса 40x5); 14 - брызговик; 15 - узлы торсионные.
Пришлось отказаться от балансирной подвески колес и применить торсионную. Своими руками изготовить торсион сложно, и я взял два таких узла от старых мотоциклетных боковых прицепов БП-65. Цанговые узлы крепления к раме коляски демонтировал и поставил вместо них заглушки, а корпуса соединил между собой шестью перемычками. Причем расстояние 168 мм между осями торсионов и соответствующих колес находил чисто геометрически: перпендикуляр, опущенный из точки сцепки на линию, соединяющую точки касания колес поверхности дороги (при совмещенной колее прицепа и тягача), делит ее пополам; ширина колеи составляет 1100 мм; смещение узла сцепки относительно оси прицепа - 225 мм, а расстояние между центром узла сцепки и осью левого колеса - 1560 мм. Получился хороший жесткий мост. ![]()
Рис.2. Схема нахождения расстояния между осями колес прицепа.
Сварная рама прицепа, выполненная в основном из стальных труб прямоугольного сечения, состоит из собственно рамы грузовой платформы со стойками бортов, дышла с подкосом и опор, к которым приварен мост, усиленных также подкосами. Длина передних и задних подкосов зависит от стороны прицепа - левая она или правая.
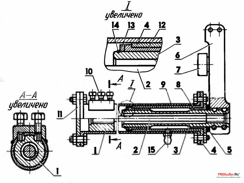
Рис.3. Доработанный торсионный узел прицепа БП-65:
1 - муфта торсионного вала; 2 - вал торсионный; 3 - ось шатуна; 4 - втулка фланцевая; 5 - сальник; 6 - шатун; 7 - буфер; 8 - втулка фланцевая, малая; 9 - корпус; 10 - болт регулировочный (3 шт.); 11 - заглушка (СтЗ, лист s5); 12 - втулка опоры вала; 13 - шайба упорная; 14 - кольцо стопорное; 15 - масленка.
Кузов выполнен из многослойной фанеры. Его передний и боковые борта крепятся к стойкам грузовой платформы болтами и саморезами, а задний (откидывающийся) - на четырех навесных петлях. Самодельные крылья прицепа сварены из листовой стали и зафиксированы на раме тремя скобами каждое. ![]()
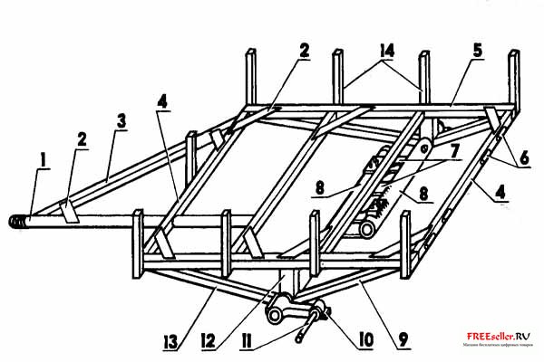
Рис.4. Рама самодельного мото прицепа:
1 - дышло (сталь 15, труба 40x4); 2 - косынки (СтЗ, полоса 40x5); 3 - подкос дышла (сталь 15, труба 20x20x2,5); 4 - балки поперечные (сталь 15, труба 20x20x2,5); 5 - лонжерон (сталь 15, труба 20x20x2,5); 6 - петли навески заднего борта; 7 - перемычки торсионных узлов (СтЗ, лист s5, 6 шт.); 8 - узлы торсионные; 9,13 - подкосы опоры (сталь 15, труба 20x20x2,5); 10 - шатун подвески колеса; 11 - ось колеса; 12 - стойка опоры (сталь 15, труба 40x20x2,5); 14 - стойки бортов (сталь 15, труба 20x20x2,5).
Колеса такие же, как у мотоцикла-буксировщика, оснащены барабанными тормозами, приводимыми в действие от педали ножного тормоза с помощью тросовой проводки.
Сцепное устройство показало себя с хорошей стороны - оно очень надежно даже при езде по грунтовой дороге со слегка перегруженным прицепом.
Электрооборудование прицепа выполнено по однопроводной схеме и подключается к мотоциклетному через разъем, закрепленный на тяговой трубе мотоцикла. Световые приборы мотопоезда-два интегральных фонаря с «габаритами», «поворотниками» и стоп-сигналами.
Прицеп мне стал незаменимым помощником в саду, огороде и при строительстве дачного домика. Особенно радует его «послушность»: он точно следует по колее мотоцикла, облегчая управление мотопоездом и повышая его проходимость.
Ю.Холмогоров, г. Ижевск
МК 06 1999