
Конструкция самодельного шестиколесного вездехода амфибия на пневмоколесах Г. Видякина. Машина имеет привлекательный внешний вид, ее оборудование максимально учитывает требования ГАИ предъявляемые к транспортным средствам.
В предлагаемой конструкции самодельного шестиколесного вездехода амфибии - компоновка пневмохода достаточно отработана и рассчитана на максимальное использование стандартных узлов. Машина имеет привлекательный внешний вид, ее оборудование максимально учитывает требования ГАИ, предъявляемые к транспортным средствам. Правда, на такие вездеходы не распространяются требования ГАИ, предъявляемые к самодельным автомобилям, поэтому их не регистрируют. Однако эксплуатировать их разрешают, установив для выезда подобных машин из города определенные маршруты и время.
Рис.1. Внешний вид шестиколесного вездехода амфибии сделанного своими руками.
Основой вездехода является открытый сверху кузов коробчатой формы. Вертикальные его борта из фанеры толщиной 7 мм, по верхней кромке бортов прикреплены крылья, образующие единую плоскость, впереди сделан небольшой скос. В плане корпус прямоугольной формы с несколько зауженной передней частью. Кузов разделен вертикальными поперечными перегородками; впереди багажник, далее в расширяющейся части кабина с рулевым колесом и сиденьем водителя, позади него по бортам два ящика, служащие сиденьями для пассажиров.
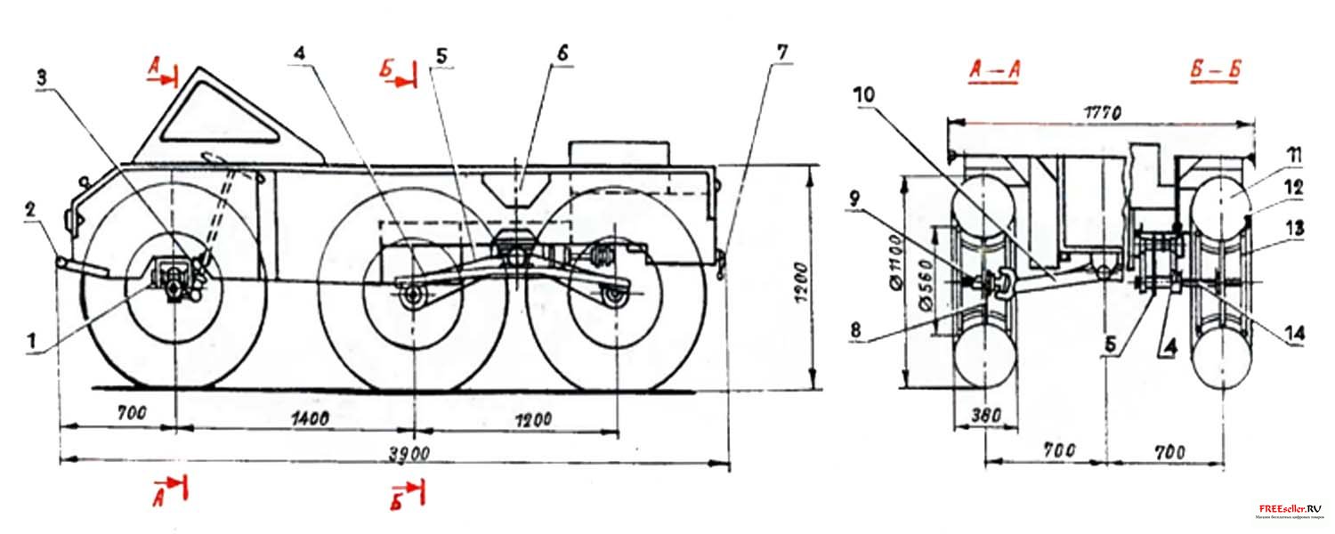
Рис.2. Трехосный вездеход на пневматиках низкого давления конструкции Г. Видякина:
1 - опора переднего моста, 2 - бампер, 3 - рулевое устройство, 4 - балансир задних колес, 5 - цепная передача к заднему колесу, 6 - топливный бак, 7 - подножка, 8 - диск колеса. 9 -ступица колеса, 10 - передний мост, 11 - камера, 12 - вентиль, 13 - отъемный обод, 14 - вал колеса заднего моста.
Следующий отсек - трансмиссионное отделение. Кстати, трансмиссия накрыта горизонтальной крышкой, находящейся на одном уровне с сиденьями пассажиров.
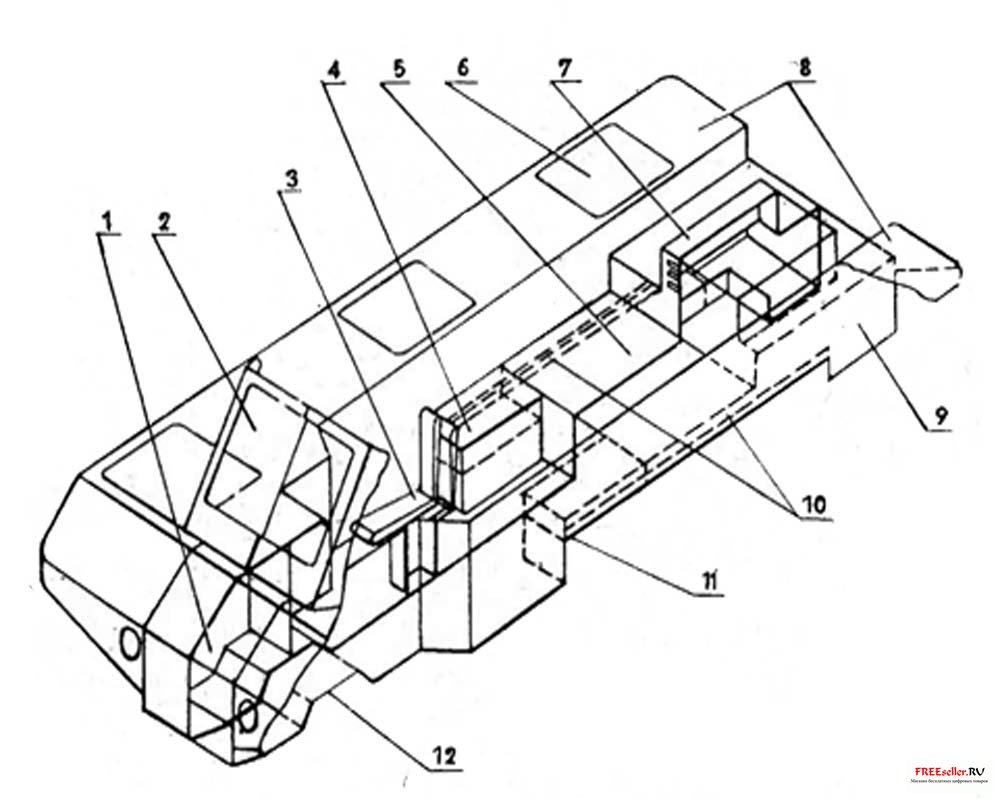
Рис.3. Корпус вездехода:
1 - багажник, 2 - ветровое стекло, 3 - сиденье водителя, 4 - ящик, 5 - место для пассажиров и багажа, 6 - окно, затянутое прорезиненной тканью, 7 - кожух двигателя, 8 - грязевые щитки, 9 - борт, 10 - бортовые лонжероны силовой рамы двигателя и трансмиссии, 11 ниша балансиров задних колес, 12 - ниша переднего моста.
Рис. 4. Рама под двигатель и трансмиссию:
1 - средние лонжероны (уголок 40 х 40 мм), 2 - поперечины (квадратная труба 40 х 40 мм), 3 - бортовые лонжероны (уголок 40 х 40 мм), 4 - поперечина (уголок 30 х30 мм), 5 - кронштейн опоры балансира (уголок 40 х40 мм).
Крылья, перегородки, крышки - фанерные, соединенные с корпусом дюралюминиевыми уголками, пол - из дюралюминиевого листа, снизу для жесткости приклепаны дюралюминиевые уголки. В передней части кузова под перегородкой багажника сделана небольшая поперечная ниша под передний мост. В задней части кузова под ящиками-сиденьями и дальше до отсека двигателя, по обоим бортам,- продольные ниши под балансиры задних колес. Кстати, задние колеса максимально приближены друг к другу, передние отнесены несколько вперед - от этого расстояния зависит радиус поворота вездехода.
Над крыльями в передней части кузова наклонно установлено лобовое и два боковых стекла. Под крыльями между задними колесами с двух сторон смонтированы бензобаки, сечение которых имеет форму сужающейся книзу трапеции. Над всеми колесами в горизонтальных частях крыльев сделаны прямоугольные вырезы, закрытые прорезиненной тканью: при наездах на препятствие это дает возможность колесам подниматься выше уровня крыльев и не тормозиться об них.
Двигатель и агрегаты трансмиссии монтируются на раме, представляющей собой единое целое с кузовом. Она состоит из четырех лонжеронов из стальных уголков 40X40 мм и поперечин из стальных труб квадратного сечения. Снаружи по бортам имеются небольшие кронштейны из уголка 40 х 40 мм для крепления опор балансиров задних колес. Везде, где возможно, полки уголков продольных лонжеронов подрезаны для уменьшения массы и в них насверлены отверстия.
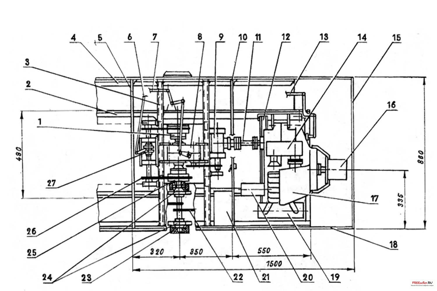
Рис.5. Расположение двигателя и трансмиссии:
1 - упругая муфта, 2 - средний лонжерон, 3 - поперечина, 4 - бортовой лонжерон, 5 - перегородка, 6 - тяга блокировки дифференциала, 7 - тяга включения реверс-редуктора, 8 - реверс-редуктор, 9 - угловой редуктор, 10 - перегородка, 11 - промежуточный вал, 12 - поперечина для крепления опоры звездочки промежуточного вала, 13 - Тяга переключателя передач, 14 - воздухофильтр, 15 - задний борт, 16 - генератор, 17 - двигатель, 18 - левый борт, 19 - глушитель, 20 - стартер, 21 - аккумулятор, 22 - цепная передача к задним колесам, 23 - опора балансира задних колес, 24 - цапфы балансира задних колес, 25 - тормозной барабан, 26 - цепная передача, 27 - узел блокировки дифференциала.
Двигатель от мотоколяски СЗД смонтирован в задней части кузова на промежуточных опорах, которые, в свою очередь, через четыре демпфирующие резиновые прокладки от двигателя «Москвича» закреплены на лонжеронах. На промежуточных опорах устанавливается также поперечина с промежуточной звездочкой, соединенной вертикальной цепной передачей с выходной звездочкой двигателя. Вал промежуточной звездочки через промежуточный валик с упругими муфтами (упругий элемент представляет собой диск из плоского приводного ремня толщиной 10 мм) соединен с угловым коническим редуктором, смонтированным на поперечине. На выходном валу редуктора установлена звездочка, соединенная цепной передачей с входным валом главной передачи (от мотоколяски), закрепленной на двух поперечинах.
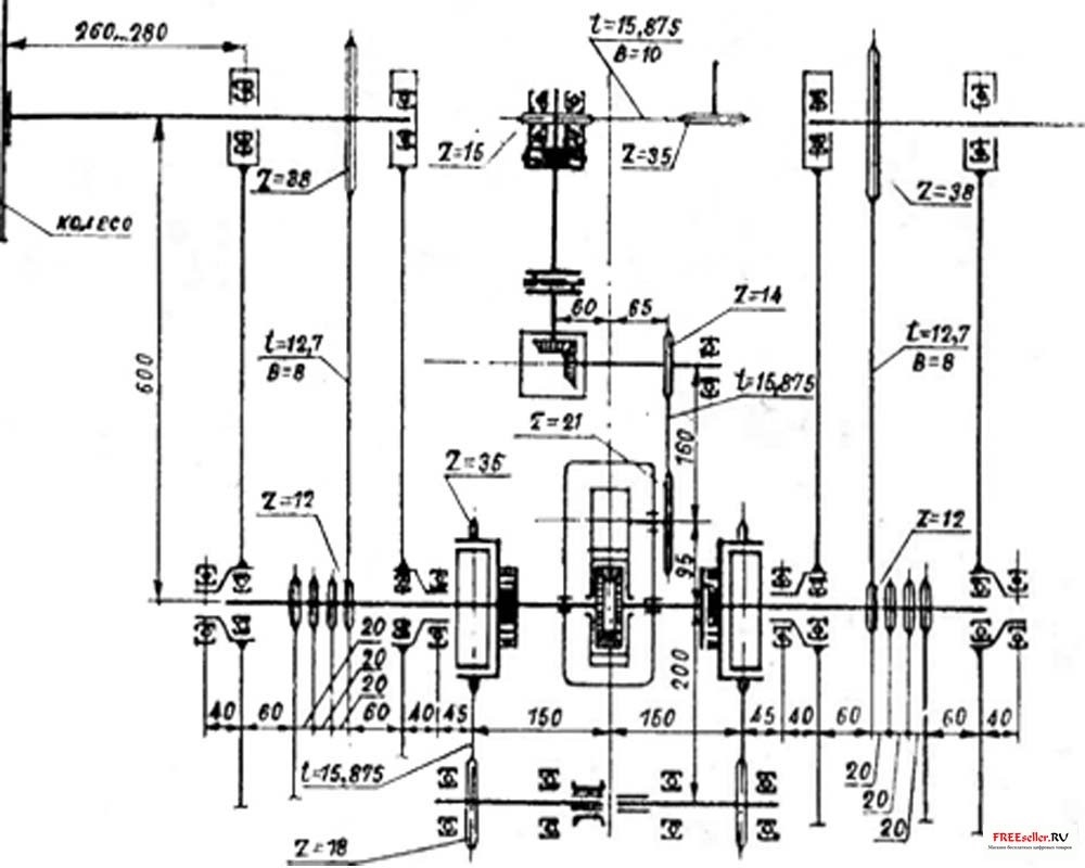
Рис.6. Кинематическая схема вездехода. Латинскими буквами обозначено:
z - число зубьев звездочек, t - шаг втулочно-роликовых цепей, b - ширина втулочно-роликовых цепей.
Рис.7. Передний мост вездехода амфибия сделанного своими руками.
Рулевое управление, как того требуют правила ГАИ, заводского изготовления, от мотоколяски. Картер с рейкой установлен под полом кузова на кронштейне, вал рулевого колеса соединен с валом-шестерней через карданный шарнир, второй (верхней) опорой вала руля служит шарикоподшипник, закрепленный на кронштейне. Поскольку руль расположен в плоскости симметрии кузова, шарниры рулевых тяг на рейке смещены в одну сторону и тяги значительно отличаются по длине, это ведет к тому, что качание поперечины сопровождается заметной поводкой ближнего колеса.
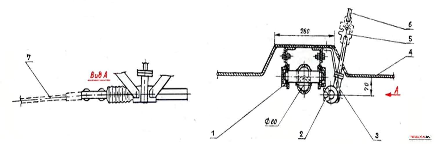
Рис. 8. Рулевое устройство и опора переднего моста:
1 - опора переднего моста, 2 - шарнир рулевой тяги, 3 - реечное рулевое устройство, 4 - пол кузова. 5 - шарнир, 6 - рулевая колонка, 7 - рулевая тяга.
Балансиры задних колес представляют собой симметричные рамы, сваренные из двух прямоугольных труб 40Х 20 мм, соединенных поперечинами из тех же труб. Центральная опора балансира поворачивается в цапфах - втулках, приваренных к закрепленным на раме пластинам. Опоры валов колес на концах балансиров - аналогичной конструкции. Рама балансира несколько изогнута, сверху располагаются цапфы балансира, а опоры валов колес снизу, поэтому оси колес оказываются ниже шарниров балансиров на 180 мм. Жесткость балансиров невелика, под нагрузкой они несколько деформируются, так же, как и рама двигателя и трансмиссии,, однако наличие упругих муфт и возможность перекоса цепных передач компенсируют этот недостаток.
Рис. 4. Устройство трансмиссии:
1 - цепная передача, 2 - рама балансира, 3 - цапфа, 4 - опора балансира, 5 - кронштейн, 6 - борт, 7 - главная передача, 8 - упругая муфта, 9 - тормозной барабан, 10 - зубчатый венец цепной передачи блокировки дифференциала, 11 - рычаг тормоза, 12 - промежуточный вал, 13 - вал колеса.
Колеса вездехода изготовлены из камеры широкопрофильной шины 1120 х 450 х380. Трубчатые обода, центральный диск и ложементы для опоры кащеры изготовлены из алюминиевого сплава. Ложементы соединены с ободами сваркой, с диском - с помощью уголков на заклепках. Ложементы разрезные, так что наружный обод оказался отъемным, к диску он крепится на болтах. Диск в центральной части усилен приклепанной накладкой, к ступице крепится болтами. Вентили перенесены на боковую поверхность, что позволяет камерам проворачиваться на ободах. Ведущие и управляемые колеса - взаимозаменяемые.
В конструкции вездехода применено несколько узлов, которые можно отнести к подвернувшимся под руку. Один из них - угловой редуктор. От него можно отказаться, если поместить двигатель в продольном направлении. При сборке трансмиссии и установке двигателя все детали крепления были изготовлены и подогнаны по месту. При этом применялись всевозможные меры для уменьшения габаритов и массы стандартных узлов; например, подрезаны выступы крепления главной передачи, мотоколяски, изготовлен малогабаритный глушитель для двигателя.
Системы управления.
Управление вездеходом и система сигнализации полностью копируют автомобильные. Приводы управления: дроссельной заслонкой - тросовое, сцеплением и тормозами - гидравлическое, переключение передач, включение заднего хода - тягами и рукоятками, расположенными на борту вездехода справа от водителя; там же смонтирована и рукоятка управления блокировкой дифференциала (через тяги). Все гидроцилиндры - от тормозов передних колес мотоколяски.
Система электропитания несколько отличается от принятой на мотоколяске: по оси коленвала и вентилятора двигателя установлен на четырех ножках автомобильный генератор переменного тока, соединенный с коленвалом упругой муфтой.
Для обогрева ветрового стекла теплый воздух подается от цилиндра двигателя через воздухозаборник и гофрированный рукав двумя автомобильными вентиляторами - на входе и выходе.