
Как правило, отправляясь в турпоездки всей семьей, мы берем с собой палатки, байдарки, различные спортивные игры - словом, груз, который на обычный велосипед не уложить. Веломобиль, который можно сделать своими руками, отлично с ним справляется; он легок в управлении, маневрен, безопасен и достаточно быстроходен. К тому же наличие кузова с крышей или тентом защищает от палящего солнца или непогоды.
Именно таков сделанный мною веломобиль «Радуга». Это педальная машина рамной конструкции, со съемным кузовом. Для перевозки грузов имеется прицеп. Длительная эксплуатация (без единой поломки) позволяет рекомендовать его для повторения всем энтузиастам этого вида транспорта.
Технические характеристика веломобиля «Радуга»:
- Длина - 1780 мм;
- Ширина - 800 мм;
- Высота - 1050 мм;
- Клиренс - 120 мм;
- Масса - 29кг;
- Число передач - 9;
- Скорость - до 25 км/ч;
- Число мест - 1,
- Грузоподъёмность прицепа - до 100 кг;
- Масса прицепа - 7 кг;
- Скорость с прицепом - до 20 км/ч
Рис.1. Конструкция и основные размеры веломобиля:
Рама веломобиля - Т-образной формы. Для ее изготовления использовались дюралюминиевые профили типа «уголок» с полками 50X32 мм, которые сваривались прерывистым швом в коробчатые балки. Рама получилась легкой и очень жесткой. В ее задней части закреплены сваркой перья задних вилок. Спереди на винтах установлена стойка передней вилки, на которой крепятся кареточный узел и два кронштейна для фиксации оплеток троса рулевого управления. Концы троса соединены с помощью винтов с рулевой сошкой. Повороты на веломобиле осуществляются перемещением управляющей ручки вперед-назад.
Все остальные узлы и агрегаты устанавливаются на винтах Мб по месту (в соответствии с индивидуальными особенностями водителя).
Трансмиссия веломобиля состоит из кареточного узла с педалями, натяжного механизма, переключателя скоростей, промежуточного вала и двух цепных передач. При вращении педалей крутящий момент передается цепью на промежуточный вал, расположенный под передней кромкой сиденья. На нем установлен набор звездочек от велосипеда «Спутник» (желательно старой конструкции, так как эти звездочки более толстые и меньше изнашиваются). Промежуточный вал вращается в двух подшипниках № 200. Переключение передач производится ручкой. Для этого ее нужно повернуть вперед и переместить вправо или влево, на один или два паза. При этом ролик на правом конце тяги изменит положение цепи.
Для натяжения цепи служит специальный механизм. Он состоит из двух щек, двух подшипников № 201, шайба толщиной 0,8 мм, оси и оси-трубки нижнего подшипника. Последняя после сборки всего узла завальцовывается с двух сторон так, чтобы наружная обойма подшипника свободно вращалась. В свою очередь, весь механизм должен легко вращаться вокруг оси, которая закрепляется на угольнике-кронштейне. Поперечный люфт устраняется шайбами. Натяжение цепи выполняется пружиной. Как правило, провисание цепи очень небольшое. Для его уменьшения натяжной механизм должен занимать положение, близко к горизонтальному при свободном положении педалей.
Задние колеса взяты от велосипеда «Десна», причем левое - с тормозной втулкой. Переднее колесо веломобиля - «дутик» от самоката.
Кузов веломобиля состоит из деревянного реечного каркаса, обшитого дюралюминиевыми листами толщиной 0,3 мм. Рейки соединяются на накладках из тонкой жести с промазкой эпоксидным клеем. Обшивка держится на клее «Момент», а в наиболее ответственных местах прибита гвоздями, шляпки которых утоплены и зашпаклеваны. Дверные проемы закрываются съемными фартуками из прозрачной пленки на кнопках, установленных с внутренней стороны.
Рис.2. Кузов веломобиля:
1 - рама , 2 - кронштейн (2 шт.), 3 - уголок, 4 - кронштейн устройства натяжения цепи, 5 - планка с пазами, 6 - ручка переключателя скоростей, 7 - гайка М6, 8 - кронштейн промежуточного вала ( 2 шт.), 9 - винт М6 (8 шт.), 10 - каркас кузова (рейка 20X20 мм), 11 - подвижная ось, 12 - подшипник (№ 200), 13 - ролик , 14 - шайба, 15 - гайка М5, 16 - косынка (жесть), 17 - гвоздь (15 мм), 18 - шайба (6 шт.), 19 - ось, 20 - трубка-ось, 21 - пружина устройства натяжения цепи, 22 - вилка передняя, 23 - скоба , 24 - подшипник (№ 201, 2 шт.), 25 - щека (2 шт.), 26 - гайка М8, 27 - вал промежуточный, 28 - оболочка троса.
Рис.3. Рама:
1 - рулевая колонка, 2 - угольник (Ст. 3), 3 - кареточный узел, 4 - лонжерон («уголок» АМг-6), 5 - вилка.
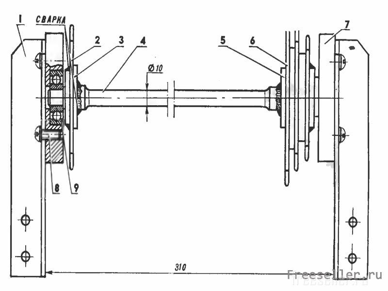
Рис.4. Вал промежуточный:
1 - кронштейн (2 шт.), 2 - звездочка (Z= 19), 3, 5 - фланцы, 4 - вал, 6 - набор звездочек (Z1=15, Z2=19, Z3=22), 7 - корпус подшипника (2 шт.), 8 - винт Мб (4 шт.), 9 - подшипник (№ 200, 2 шт.)
Кузов крепится на раме в четырех точках.
Сиденье веломобиля сделано из труб от «раскладушки» и обтянуто сверху брезентом. На брезент кладется поролоновая подушка. Такая псевдоанатомическая конструкция очень удобна во время дальних походов, обеспечивает хороший упор для развития максимального усилия на педалях.
Поскольку веломобиль - транспортное средство, он обязательно должен быть снабжен световыми приборами: фарами, габаритными огнями, указателями поворотов и стоп-сигналом. Целям повышения безопасности служит и окраска кузова: белая с красными и синими полосами, она привлекает к веломобилю внимание и выделяет его на дороге.
Важное дополнение «Радуги» - прицеп. Он имеет деревянный каркас-основание, собранный из реек, на котором закреплены дно и борта. Стыки сделаны на гвоздях с промазкой эпоксидным клеем. По контуру бортов для жесткости пропущены рейки 20X20 мм. Колесные ниши закрыты кожухами из жести. Снизу каркаса на шурупах закреплены уголки - кронштейны колес. Колеса - самокатные. На передней части прицепа установлен сварной кронштейн. Прицеп оборудован дублирующими указателями поворотов, габаритов и стоп-сигналом.
Рис.5 Прицеп для веломобиля:
1 - нолик (фанера 6 мм), 2- боковая стенка (фанера, 2 шт.), 3 - поперечная стенка (фанера, 2 шт.), 4. 8, 17 - каркас (рейка 20 Х 20 мм), 5 - кожух (жесть, 2 шт.), 6 - ручка, 7 указатель поворотов (2 шт ), 9- кронштейн-угольник (4 шт.), 10 - ручка (2 шт.), 11 - винт М4 (4 шт.), 12 - основание (рейка 20 X 30 мм), 13-шуруп (8 шт.), 14- кронштейн, 15 - подкос, 16- поперечина кронштейна.
Рис.6,7 Велопоезд с прицепом:
1 - «велотягач», 2 - ведомый веломобиль, 3 - электрокабель, 4 - прицеп, 5 - откидной колпак, 6 - шарнир, 7 - шайба, 8 - гайка М16 (2 шт.), 9 ось (Ст. 3), 10 - шайба (2 шт.), 11 - гайка М8 (2 шт.), 12 - кронштейн тягача.
И еще об одной особенности «Радуги», заложенной при проектировании,- это возможность совместного использования нескольких веломобилей в режиме «велосцепки». Этот вариант удобен во время дальних походов, когда каждый работает в меру своих сил, а отстающих или «убегающих» вперед нет. Управление находится в руках у руководителя, все едут вместе; по прибытии на место каждый веломобиль становится автономным. При эксплуатации таких «велопоездов» следует только учитывать, что при увеличении числа «модулей» увеличивается величина заноса на поворотах; при их прохождении необходимо снижать скорость.
А. Муравьев.
Моделист конструктор 03 1991