Ультразвуковое охранное устройство - схема

  • Опубликовано: 20 декабря 2009


В охранных системах для помещений применяют различные датчики. Особенность ультразвуковых - простота установки. При их использовании в помещении отпадает необходимость в прокладке охранного шлейфа.


Устройство состоит из датчика перемещения, звукового сигнала и автономного блока питания, объединенных в одном корпусе. Оно может охранять комнату площадью до 20 квадратных метров. Размещают его на стене внутри охраняемого объекта. Срабатывание звукового сигнала происходит при перемещении какого-нибудь предмета, при этом вначале подается короткий предупреждающий звуковой сигнал. Если в помещение зашел хозяин, этот сигнал предупредит его, что устройство сработало и его нужно выключить. Если же этого не сделать, то через минуту устройство подаст громкий звуковой сигнал, звучащий в течение нескольких минут, а затем снова перейдет в режим охраны.

 

В состав датчика перемещения входят акустический излучатель и приемник. Излучатель вырабатывает сигнал в ультразвуковом диапазоне стабильной амплитуды и частоты. Частоту желательно выбирать в пределах 25...35 кГц. Звуковые волны распространяются во все стороны от излучателя и попадают в приемный датчик разными путями. Прямой сигнал идет непосредственно от излучателя к приемнику. Кроме этого, на вход приемного датчика поступают сигналы, отраженные от окружающих предметов. Амплитуда и сдвиг фазы отраженного сигнала относительно прямого имеют случайную, но постоянную величину и зависят от размеров помещения, места расположения датчика и находящихся в помещении предметов.

 

В приемном датчике прямой и отраженный сигналы смешиваются, образуя суммарный принятый сигнал определенной амплитуды. При перемещении хотя бы одного предмета, на который попадает звуковая волна, фаза и амплитуда отраженного сигнала изменяются. Перемещение отражающей поверхности приблизительно на 1 см приведет к изменению фазы отраженного сигнала на 180°, поэтому длительное перемещение отражающей поверхности вызовет пульсацию суммарного принятого сигнала с частотой от 1 до 100 Гц в зависимости от скорости и направления перемещения. При появлении в принятом сигнале такого рода пульсации срабатывает сигнальное устройство и подается звуковой сигнал.

 

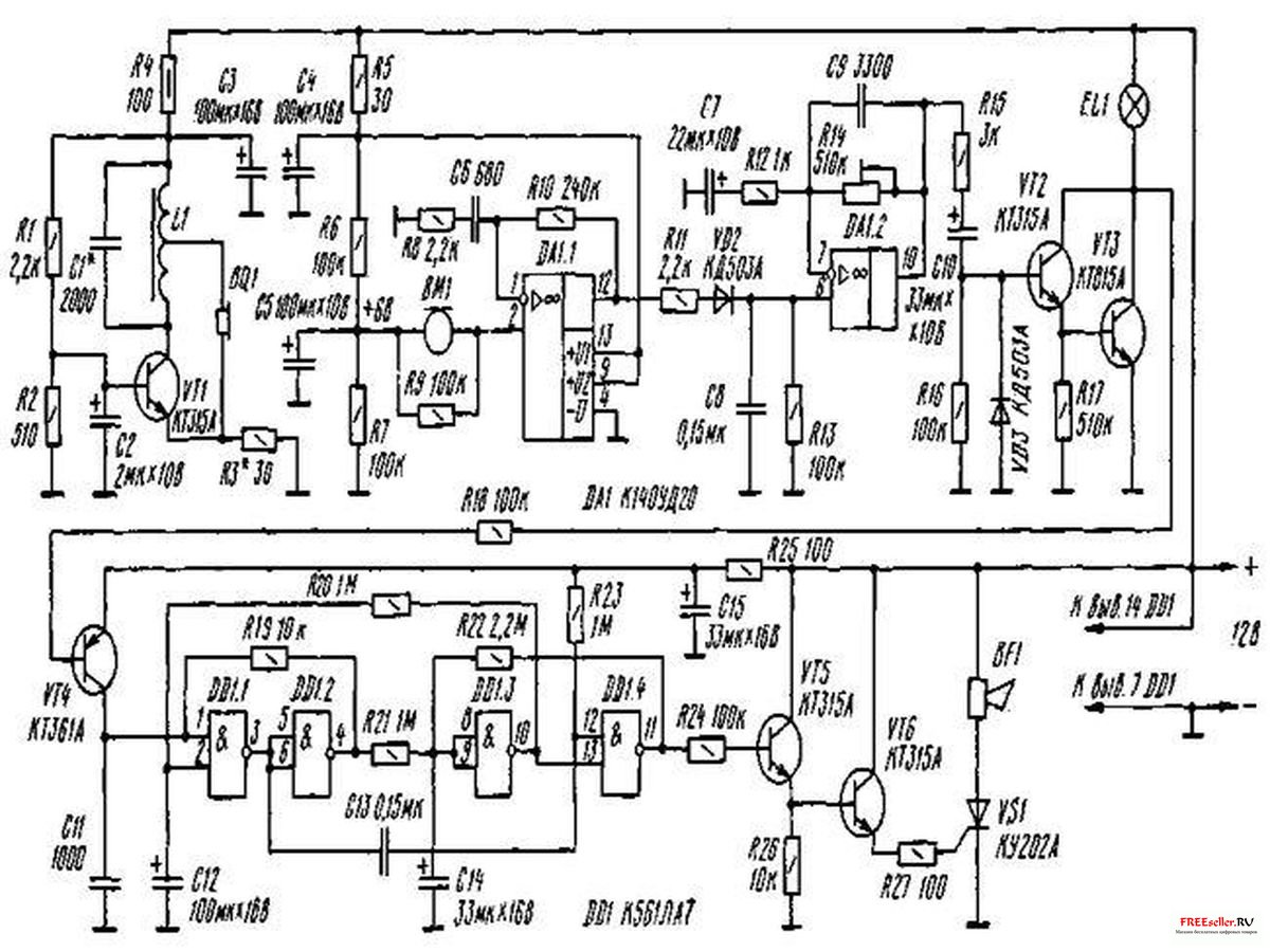
Схема устройства показана на рисунке. Генератор излучателя построен по схеме емкостной трехточки. Излучатель BQ1 включен в цепь обратной связи транзистора VT1.

 

 

Частота колебаний генератора зависит от резонансной частоты излучателя BQ1 и параметров контура L1 С1. Мощность излучения регулируют подбором резистора R3, а подстройку частоты производят подбором конденсатора С1.

 

Приемник состоит из ультразвукового микрофона ВМ1, усилителя принимаемого сигнала на ОУ DA1.1, детектора на элементах R11, VD2, С8, R13, усилителя продетектированного сигнала на ОУ DA1.2 и транзисторного ключа VT2VT3. Параметры детектора подобраны таким образом, чтобы подавление несущей частоты в диапазоне 25...35 кГц было максимальным, а ослабление низкочастотных пульсации 1...100 Гц - минимальным. Цепь C7R12C9R14 задает коэффициент усиления и полосу пропускания ОУ DA1.2. При появлении переменного напряжения на его выходе положительная полуволна через конденсатор С10 открывает транзисторный ключ VT2VT3, а отрицательная полуволна через диод УОЗ перезаряжает конденсатор С10.

 

Сигнальное устройство включает в себя триггер Шмитта на элементах DD1.1, DD1.2, узел управления на элементах DD1.3, DD1.4, усилитель тока на транзисторах VT5, VT6, тиристор VS1 и излучатель звукового сигнала BF1. При включении питания заряжается конденсатор С12. Примерно через 1...1.5 мин на выводе 2 элемента DD1.1 возникает высокий уровень. Теперь, если сработает детектор перемещения, транзисторы VT2, VT3 и VT4 откроются, высокий уровень на выводе 1 элемента DD1.1 переключит триггер. На выходе DD1.1 возникнет низкий уровень, а на выходе триггера (вывод 4 DD1.2) - высокий. Цепь C13R23 задает длительность короткого звукового сигнала - 0,1 с, а цепь R21C14 - задержку подачи длительного звукового сигнала - 60 с. Цепь R20C12 определяет длительность звукового сигнала и задержку работы устройства после включения питания.

 

Потребляемый ток в дежурном режиме не превышает 70 мА, а в режиме подачи звукового сигнала - 1...2А.

В качестве излучателя BQ1 и приемника ВМ1 использованы биморфные пьезоэлементы, настроенные на одну и ту же резонансную частоту, например 34 кГц. Расстояние между пьезоэлементами должно быть 3...5 см. Между ними необходимо проложить звукоизоляционную прокладку из поролона. В принципе,если не найдется биморфных пьезоэлементов, можно применить обыкновенную высокочастотную динамическую головку и микрофон, снизив при этом частоту излучения вплоть до 10 кГц. Но это ухудшит помехозащищенность устройства, так как ухудшится частотная избирательность приемника. Также станет слышен излучаемый звук, но для охраны небольших закрытых помещений, объектов, например автомобиля, чувствительности окажется вполне достаточно, а звуковое излучение будет хорошо экранировать корпус автомобиля. В таком варианте конструкцию генератора необходимо изменить.

 

Звуковая сирена BF1 - автомобильный сигнал с током потребления 1...2 А. Катушка L1 намотана на ферритовом кольце марки М2000 размерами 20х12х6 и содержит 100 витков провода ПЭВ-0,3 с отводом от середины. Корпус устройства должен быть сделан с запасом прочности и надежно закреплен на стене внутри охраняемого помещения.

 

Налаживание начинают с настройки генератора. Для этого необходимо отключить приемный пьезоэлемент ВМ1 и подключить его к осциллографу. Расположив пьезоэлементы друг против друга и подав питание на генератор, подбором конденсатора С1 и резистора R3 добиваются максимальной амплитуды принимаемого сигнала. Можно измерить частоту генератора - она должна соответствовать резонансной частоте излучателя. Затем нужно восстановить соединения, разместить пьезоэлементы в корпусе и подать питание на все устройство. Напряжение на выходах ОУ DA1.1 и DA1.2 (выводы 10 и 12) должно быть равно половине напряжения питания.

 

В заключение проверяют амплитуду усиленного переменного напряжения на выходе ОУ DA1.1, она должна быть примерно равна 0,1 В. Сильное отличие амплитуды от этого значения приведет к некоторому ухудшению чувствительности. Если провести рукой перед пьезоэлементами, амплитуда переменного напряжения на выходе ОУ DA1.1 начнет пульсировать. Частота пульсации будет тем выше, чем выше скорость перемещения.

 

Остальная часть устройства в настройке не нуждается и при правильном монтаже должна работать сразу.

 

Внимание!!! Внимание, информация содержащаяся на данной странице, может быть устаревшей и содержать ошибки. Поэтому приводиться исключительно в ознакомительных целях.

А. КОЙНОВ, г. Находка Приморского края РАДИО №7, 1998

Похожие самоделки

Имя:*
E-Mail:


Песочница RSSРеклама на сайтеFreeseller.ru - Полезные самоделки
Copyright © 2008-2025