Схема прибора для поиска коротких замыканий в сети

  • Опубликовано: 14 декабря 2009


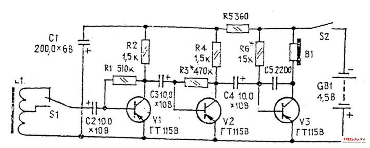
Схема прибора для поиска коротких замыканий в сети. Представляет собой трехкаскадный усилитель низкой частоты с высокой чувствительностью. Ко входу усилителя через переключатель S1 подключается поисковая катушка LI. Наибольшей чувствительности прибора будет соответствовать верхнее по схеме положение подвижного контакта переключателя. Если поднести катушку к проводке радио-трансляционной линии, в головном телефоне В1 послышится звук — транслируемая передача. Перемещая катушку вдоль линии, по внезапному исчезновению звука находят место замыкания ее проводов.


Поисковая катушка намотана на ферритовом стержне 400НН 08 и длиной 150 мм. Она содержит 1475 витков провода - ПЭВ-1 0,11 с отводом от 625-го витка, считая от нижнего по схеме вывода. Транзисторы ГТ115В можно заменить, например, транзисторами МП39Б или другими, структуры p-n-р и обладающими возможно большим коэффициентом передачи тока при наименьших собственных шумах. Головной телефон - миниатюрный, типа ТМ-2 сопротивлением около 60 Ом.

 

 

Можно, конечно, использовать и один капсюль от головных телефонов ТОН-2, имеющий сопротивление 1600 Ом, но тогда придется увеличить сопротивление резистора R6. Этот резистор, как и резисторы Rl, R3, подбирают при налаживании прибора по наибольшей чувствительности усилителя. Все резисторы мощностью 0,125 Вт (УЛМ, ОМЛТ), электролитические конденсаторы К50-6, конденсатор
С5 любого типа, переключатель типа тумблер. Источник питания - батарея 3336Л, но подойдут и элементы 316, 332 и другие, соединенные последовательно.

Похожие самоделки

Комментариев 1
  1. а нафига, где её взять "один капсюль от головных телефонов ТОН-2, имеющий сопротивление 1600 Ом", в продаже всё НЕТ!!!
    0
Имя:*
E-Mail:


Песочница RSSРеклама на сайтеFreeseller.ru - Полезные самоделки
Copyright © 2008-2025