Самодельная цепная элетропила из дрели

  • Опубликовано: 9 января 2009

 

Изготавливаем самодельную цепную пилу из электродрели.


Наряду с такой трудоемкой работой, как возделывание земли на индивидуальном участке, сельскому труженику приходится еще решать и другую немаловажную задачу - заготовку дров для печного отопления. А их требуется немало - в среднем 8-9 м3, распиленных на чурбаки по размеру топки и наколотых на поленья. Дело, прямо скажем, утомительное. Даже при работе вдвоем, и не одноручной, а и двуручной пилой, на это уходит не один выходной теплого сезона.


Предлагаю конструкцию самодельной электропилы, выполненной на базе мощной дрели и стандартного пильного узла. Мной была использована однофазная электродрель на 220 В мощностью 340 Вт, со скоростью вращения шпинделя 295 об/мин. На шейку инструмента жестко закрепляется на винтах щиток шинки цепной пилы (подойдет любая - от пилы «Дружба» или «Урал»), Звездочка привода цепи надевается на укороченный до 50 мм хвостовик сверла ?20 мм с проточенными под нее шлицами и шплинтуется. Конусный хвостовик сверла вбивают в отверстие вала дрели и также шплинтуют, после чего на звездочку накидывают и натягивают пильную цепь.

В собранном виде электродрель закрепляется горизонтально на шарнирном валу, установленном в концевых подшипниках скольжения.

Вся конструкция пилы крепится на легких металлических (из любых труб ?32 мм) козлах, через швеллерную площадку (Ш-10, L = 790 мм). Перпендикулярно площадке привариваются три опорных кронштейна (лапы), на них укладывается для распиливания лесоматериал. К тому же швеллеру сваркой крепятся заготовленные из стального уголка 40X40X5 мм вертикальные упоры, к которым прижимается распиливаемое бревно. Чтобы уложенный под пилу кругляк не начал вращаться под действием движущейся цепи, предусмотрен накидной зажим в виде троса-хомута с нажимной педалью на нижнем конце.

Электропила-дрель показала себя очень удобной в работе. Она практически бесшумна, весит всего 12 кг, имеет очень высокую производительность, экономична. Например, за 1 ч можно распилить 2,5 м3 бревен на чурбачки длиной 30 см, а расход электроэнергии с оплатой составит: А = 340 ВтХ1чХ4 коп. = 0,34 кВтХ1Х4 коп. = 1,4 коп.

 

 

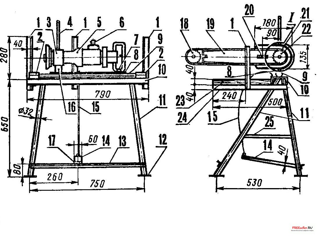
Рис. 1. Электропила
1 - упоры, 2 - корпус подшипника, 3 - муфта, 4 - поворотный рычаг, 5 - дрель, 6 - выключатель дрели, 7 - хомут крепления дрели, 8 - опорная пластина для дрели, 9 - вал. 10 - площадка-швеллер, 11 - стойки, 12 - подпятник стойки, 13 - рама, 14 - педаль, 15 - трос. 16 - опора, 17 - шарнир, 18 - ведомая звездочка, 19 - шина, 20 - направляющий сухарь, 21 - щиток, 22 - ведущая звездочка, 23 - брусок, 24 - кронштейн, 25 - стяжка (уголок), 26 - вал дрели, 27 - шплинт звездочки, 28 - фиксирующий винт, 29 - шплинт сверла. 

 

 

Рис. 2. Поворотный вал с муфтой крепления дрели: 1 - площадка-швеллер, 2 - корпус подшипника, 3 - муфта, 4 - опорная пластина для дрели, 5 - вал, 6 - опорная пластина подшипника. 7 - стойка (на. виде сбоку не показана), 8 - болт. 



Такой пилой можно заготавливать не только дрова, но и без помощника пилить бревна диаметром до 50 см, доски, бруски, текстолит, асбоцементные плиты и тому подобные материалы.

У меня в хозяйстве этот станок работает безотказно уже свыше 7 лет. Он достаточно неприхотлив; при эксплуатации приходится лишь раз в год смазывать подшипники и редуктор дрели. Больше внимания потребует сама цепь: через каждые полтора часа работы ее надо заново тщательно смазать, тогда она будет служить долго и надежно.

При работе с электропилой необходимо строго соблюдать правила безопасности: иметь разъем на кабеле, в момент включения станка стоять на резиновом коврике, использовать только сухие, желательно обрезиненные со стороны ладоней рукавицы.

При сборке пилы с дрелью не потребуется никаких преобразований: лишь откручивается и снимается с дрели одна ручка (боковая), а в торцевой ручке просверливается отверстие ?8 мм - для соединения дрели с пильной шиной.

 Б. СОКОЛОВ, инженер, лауреат НТТМ-87
 "Моделист-Конструктор" 1988, №9

Самодельная цепная элетропила из дрели

kovboy

Автор работы

0

комментариев

46 443

просмотра

Похожие самоделки

Имя:*
E-Mail:


Песочница RSSРеклама на сайтеFreeseller.ru - Полезные самоделки
Copyright © 2008-2025