
Изготавливаем самодельную циркулярную пилу из старого мотоцикла.
Наверное, я никого не удивлю, сказав, что заготовка дров на зиму - одно из самых трудоемких дел сельского жителя. Еще бы, совсем непросто распилить несколько кубометров древесины! А нельзя ли превратить в помощника мой старенький мотоцикл? Идея показалась заманчивой, и я довольно быстро реализовал ее.
Результаты первых же испытаний превзошли все ожидания: бревно распиливалось в считанные секунды. Правда, двигатель сильно перегревался, потому пришлось позаботиться о принудительном охлаждении. Крыльчатку вентилятора использовал от автомобильного обогревателя, а на кожухи пошли обычные банки из-под краски.
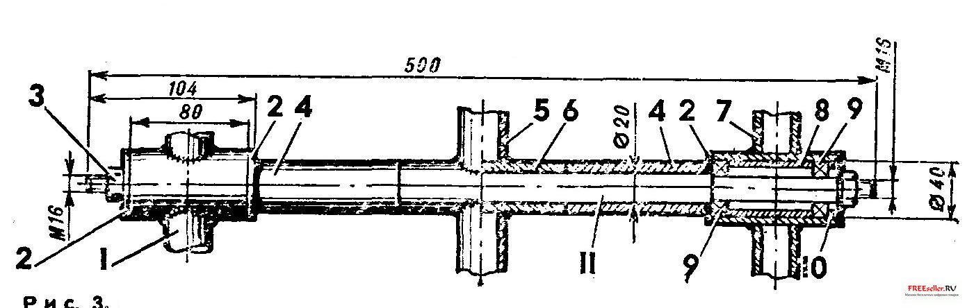
Последовательность переоборудования мотоцикла такова. Сначала снимается резиновая подушка подножки, выбиваются штифты и удаляется труба подножки, а на ее место устанавливается ось качания и надеваются распорные втулки. Затем мотоцикл приподнимается, надеваются велосипедные рамы основания и скрепляются стяжкой. Смотровой люк правой крышки картера снимается, и вместо болта крепления генератора ввинчивается шпилька фиксации цилиндра. После этого монтируются левая крышка вентилятора, втулка, сам вентилятор и правая крышка с направляющим кожухом. (Головку двигателя для лучшего обдува можно повернуть на 90°.) Наконец, с мотоцикла снимаются колеса, а место заднего занимает циркулярная пила.
Коротко об эксплуатации. Работать с таким станком удобнее всего втроем: один управляет пилой, а двое укладывают бревна на раму. Значительная численность «экипажа» компенсируется производительностью механизма, которая удивляет даже опытных «бензопилыциков». А более чем трехлетний опыт эксплуатации мотопилы подтвердил ее эффективность и безотказность.