Самодельная бетономешалка из бочки с электроприводом

  • Опубликовано: 24 мая 2011

Самодельная бетономешалка из бочки с электроприводом


Конструкция самодельной бетономешалки — это обычная толстостенная двухсотлитровая бочка, вращающаяся вокруг собственной оси со скоростью примерно тридцать оборотов в минуту. Эта скорость — оптимальная, выбранная опытным путем Уже в процессе испытаний пришлось поменять в последней цепной передаче ведомую звездочку на вдвое большую для того, чтобы снизить обороты, так как при большей скорости в рабочий процесс вступала центробежная сила, и приготавливать «жесткие» смеси было невозможно. А ведь известно что, чем «жестче» смесь, тем крепче потом будет бетон.


Поэтому оптимальная скорость вращения емкости очень важна - при слишком медленном движении теряется производительность, а при слишком быстром - нарушаются технологические условия, без соблюдения которых приготовление качественной смеси невозможно.

 

Бетономешалка из бочки своими руками.


Рис.1. самодельная бетономешалка с механизированным приводом.

 

Материалы для изготовления

 

  • 200 литровая, желательно толстостенная (не жестяная) бочка;

  • вал диаметром 30 мм;

  • четыре подшипника в корпусах;

  • планетарный редуктор с передаточным числом 8 промежуточный вал;

  • 4 звездочки и две цепи с шагом 19,05 два шкива;

  • ремень;

  • 3-х фазный электродвигатель мощностью 4 кВт;

  • карданная передача;

  • уголок 75x75 мм;

  • пруток диаметром 16 мм;

  • труба диаметром 42 мм.

 

Изготовление бетономешалки


При наличии сварки, газового резака, всех материалов и инструмента такую бетономешалку можно собрать за неделю Я не стал разрабатывать чертежи узлов и деталей, ограничился лишь кинематической схемой. Приведенный перечень материалов - это то, чем воспользовался я, исходя из своих возможностей Но это не догма. Можно применить любые передачи, лишь бы было соблюдено главное условие - число оборотов емкости должно быть оптимальным. Если взять подходящий червячный редуктор, то и вообще можно обойтись им одним, так как его передаточное отношение очень большое.

 

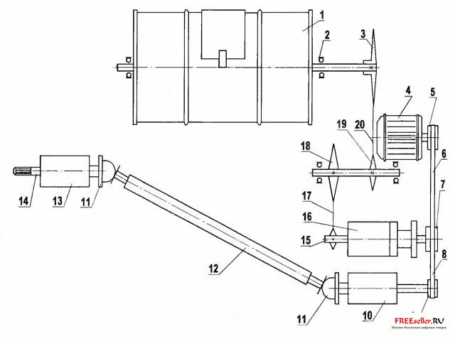
Бетономешалка из бочки своими руками. Чертеж схемы привода.
Рис.2. Схема привода бетономешалки:


1 - корпус бетономешалки; 2 - опорные подшипники; 3 - ведомая звездочка (Z48); 4 - трехфазный эпектродвигатель; 5 - ведущий шкив; 6 - ременная передача от электродвигателя; 7 - шкив планетарного редуктора; 8 - ременная передача от промежуточной опоры; 9 -шкив промежуточной опоры; 10 - вторая промежуточная опора; 11 - карданные шарниры; 12 - карданный вал; 13 - первая промежуточная опора карданной передачи; 14 - шлицевой вал промежуточной опоры. 15 - ведущая звездочка (z 14); 16 - планетарный редуктор i 8); 17 - первая цепная передача; 18 - ведомая звездочка промежуточного вала (Z 24); 19 - ведущая звездочка промежуточного вала (Z 14); 20 - вторая цепная передача.


Случилось так, что после 1 сезона эксплуатации я был вынужден отказаться от трехфазной сети Что теперь? Списывать бетономешалку? Нет, выход нашелся. В хозяйстве есть трактор, почему бы его не заставить месить бетон? Поставил промежуточную опору (на рисунке ни ее, ни карданной передачи нет - снимок сделан в самом начале работы машины), отсоединил планетарный редуктор от электродвигателя и соединил его той же ременной передачей с промежуточной опорой Длинным карданом соединил ее со второй промежуточной опорой, установленной снаружи навеса, под которым стояла бетономешалка. Теперь осталось только съемным штатным тракторным карданом соединить ее с валом отбора мощности «Беларуси». С таким приводом бетономешалка отработала еще два сезона.

В этом году я вновь подключил три фазы - и машина опять вернулась к первоначальному варианту. Но карданную передачу убирать из конструкции не стал Всякое бывает Может и электродвигатель сгореть и фаза исчезнуть а то и вообще ток отключат - а работать-то надо, вот трактор снова и пригодится С резервным приводом спокойнее.


Загрузчик



Очень трудоемкое занятие - загрузка бетономешалки. Цемент, и гравий, и вода - все зто материалы тяжелые. А ведь за день приходится делать по десять и более замесов.

Какой смысл механизировать сам процесс приготовления смеси, но вымотать себя полностью на загрузке. Двенадцать ведер гравия три ведра цемента и два вида воды - это на один замес.

В килограммах - от 170 до 200, в зависимости от влажности гравия. И всё это надо погрузить в ведра, поднести к машине, поднять на значительную высоту держать на весу, пока не освободится тара - работа тяжелая. Воо,щем силы на загрузке машины надо сэкономить, и это возможно.

 

Бетономешалка из бочки своими руками. Чертеж загрузчика бетонной смеси.

Рис.3. Загрузчик бетонной смеси:

1- монорельс (рельс типа Р5. L5000); 2 - ролик (подшипник 203, 2 шт.); 3 - ось ролика; 4 - щека подвески (стальной лист s5 2 шт.); 5 - стяжка (болт Ml4x1,75, 2 шт.); 6 - распорная втулка (труба 20x2.8. 2 шг.). 7 - крюк подвески (сталь, пруток диаметром 10); 8 - трос; 9 - фиксатор рукоятки ворота; 10 - рукоятка ворота; 11 - опора ворота (швеллер 8. 2 шт); 12 - поперечина рамы (уголок 80x80); 13 - кронштейн направляющего ролика (уголок 75x75, 2 шт.); 14 - направляющий ролик; 15 - опора короба (сталь, лист s5. 2 шт.); 16 - короб (сталь, лист si,2 1,5); 17 - фиксатор короба (стальная цепь); 18 - верхняя перемычка короба (уголок 30x30); 19 - верхняя и нижняя обвязки короба (уголок 30x30); 20 - шарнир короба (сталь, круг 20, 2 шт.); 21 - связка (сталь, лист s5, 2 шт.)


Я механизировал процесс подачи материалов в первый же год - одновременно с изготовлением бетономешалки занялся и конструированием небольшого, не очень, как потом и подтвердилось нужно приспособления, Можно назвать его загрузчиком. Состоит он из загрузочного короба и пятиметрового монорельса, подвешенного к потолку навеса и выходящего за его пределы как раз до места складирования гравия.

 

Бетономешалка из бочки своими руками. Чертеж загрузчика


Рис.4. Загрузчик бетономешалки.


На рисунках и схемах видно, как загрузчик устроен и как работает.
Небольшой короб, шарнирно прикрепленный к П-образной раме, при помощи ручного ворота поднимается на нужную высоту и перемешается к бетономешалке, после чего его содержимое высыпается внутрь.

 

Бетономешалка из бочки своими руками. Схема оборудования рабочего места.
Рис.5. Схема оборудования рабочего места:
1 - емкость с водой (200 л) на стойке высотой 2 м; 2 - бетономешалка; 3 - привод бетономешалки; 4 - приемная емкость готового раствора;5 - склад цемента; 6 - навес; 7 - монорельс; 8 - загрузчик; 9 - склад гравия; 10 трактор МТЗ-80; 11 - промежуточный карданный вал; 12 - наружная промежуточная опора карданной передачи.

То же самое происходит потом и с цементом, а с водой совсем просто - поставил емкость на высокую двухметровую подставку, и оттуда она самотеком поступает в машину, после того, как цемент и гравий уже достаточно перемешаны между собой. Нужно только установить еще ведро-дозатор, чтобы не налить лишнего.
Г. Легостаев, Башкортостан

Похожие самоделки

Имя:*
E-Mail:


Песочница RSSРеклама на сайтеFreeseller.ru - Полезные самоделки
Copyright © 2008-2025