Баня в квартире своими руками

  • Опубликовано: 24 мая 2011

Баня в квартире своими руками


Конструкция домашней бани в ванной комнате.


Для изготовления электрокаменки для бани потребуется спираль из 1,5-мм нихромовой проволоки длиной 6 — 6,5 м.


Изготовить такую спираль не сложно: она наматывается с помощью простого самодельного приспособления на базе ручной электродрели.

Оправка - стальной пруток диаметром 8 мм, длиной 400 мм. В 5 - 6 мм от торца перпендикулярно оси прутка сверлится отверстие диаметром 2 мм. Далее из 20-мм доски изготавливаются две направляющие прокладки, широкими сторонами сжимаются в тисках, и по стыку сверлится отверстие диаметром 9 мм. Вот и все приспособление.


Приступаем к навивке спирали В отверстие на конце оправки вставляем нихромовую проволоку и плотно, виток к витку, вручную делаем 5 - 8 витков. Намотанная часть устанавливается в отверстие между двух направляющих прокладок, а свободный конец оправки зажимается в патрон электродрели. Плотно поджав тисками нихром на намотанной части, включаем электродрель и на малых оборотах производим намотку спирали. Весь процесс занимает немного времени: ведь необходимо сделать всего около 300 оборотов. После окончания намотки оправку вынимаем из патрона дрели и очень осторожно раздвигаем губки тисков: следует иметь в виду, что спираль превратилась в пружину растяжения и, освободившись от тисков, ее конец может «сыграть» и нанести травму.


Откусив конец проволоки, вставленный в пруток, снимаем спираль с оправки. Затем зажимаем один ее конец в тисках, а за другой-пассатижами растягиваем до длины 3 - 3,5 м. Эту операцию, также как и намотку во избежание травмы следует производить в рукавицах и очках.


Сама «печка-каменка» осталась практически без изменений - это жестяное 10-л ведро (или бельевой бак), заполненное теплоаккумулирующим материалом. Как показал опыт, вместо камней лучше использовать керамику от высоковольтных изоляторов или фарфоровой сантехники. При использовании керамики работа «печки» более стабильна, тогда как камни со временем трескаются и требуют замены.


Кусочки керамики, например, осколки разбитой раковины или унитаза, следует обработать на наждачном круге, стачивая острые кромки. Размер керамики (или камней) - не менее 5 см, но понадобятся и более мелкие кусочки - для полного заполнения объема ведра. Верх «печки» для эстетики лучше выложить небольшими камнями. В основании ведра следует просверлить 15 - 20 отверстий диаметром 3 - 4 мм для вытекания воды, не успевшей испариться. Сверлить надо изнутри ведра, чтобы заусенцы выходили наружу и не мешали выходу воды.


Нагревательная спираль в «печке» располагается между наполнителем по винтовой линии с равномерным отступом в 2 - 3 см как от соседних витков, так и от стенок ведра. Питание на спираль подводится через силовую колодку, закрепленную снаружи на верхней части ведра. 


Провода к колодке крепятся с помощью болтов Мб с гайками и шайбами. Внутри ведра шайбы должны быть толщиной не менее 2 мм, чтобы избежать их деформации при высокой температуре. Снаружи можно поставить шайбы потоньше.

Электросхема подключения «бани» довольно простая. «Баня» потребляет 22 - 25 А, поэтому вся проводка выполнена отдельным проводом медным жаростойким гибким сечением 4 мм2 в кремнийорганической изоляции. На длине 100 мм около клемм на провод нанизаны керамические бусы в электрощитке необходимо установить отдельный автомат на 25 А Применение в электросхеме диода АЛ 132-80 (на 80 А) на мощном радиаторе позволяет уменьшить длину спирали в 2 раза и, соответственно, в 5 - 7 раз повысить долговечность электрокаменки.


Поскольку потребляемая мощность «бани» составляет 5 - 6 кВт, а ток - 25 А, необходима электророзетка, обладающая повышенной надежностью (для обычной розетки предельный ток- 16 А). Я эту проблему решил, оставив, но модернизировав старую керамическую розетку скрытой проводки.


Во-первых, керамика обеспечивает прочность корпуса при перегреве. Во-вторых, гнездо под штырь вилки состоит из двух контактов: неподвижного и подвижного, подпружиненного. Это обеспечивает надежное соединение и возможность использования как обычных, так и «евровилок» (в этом случае отверстие в крышке розетки надо рассверлить до 5 мм).


Доработка розетки очень простая. Сначала удалил элемент-посредник - промежуточную планку с двумя резьбовыми отверстиями. 


Крепление провода осуществил непосредственно к неподвижному контакту винтом и гайкой МЗ, установив ее в отверстие в основании корпуса и зафиксировав алебастром (можно и гипсом).


Предлагаемая конструкция свободно держит 25 А, так как в ней нет ничего лишнего, корпус - керамический, а надежность контакта между гнездом и штырем вилки обеспечена за счет пружины.


Держатель из стального 10-мм прутка и подставка с упором из уголка 25x25 мм практически не отличаются от первоначального варианта. Ограждение и сиденье поменяли свой «имидж», стали более удобными и простыми в изготовлении.


Эксплуатация установки возможна в двух режимах: как в русской бане или как в финской сауне. В первом случае достаточно 1,5 - 2 часов прогрева до температуры 50 - 60°С. В режиме сауны в помещении необходимо иметь 70 - 80°С, для чего потребуется уже 3 - 4 часа. Когда комната прогреется, надо обязательно сначала отключить электропитание (см. ниже) и затем деревянным ограждением (из брусков 30x30 мм) накрыть каменку. Только после этого можно приступить к «священной» процедуре.


Поддавать лучше горячей водой из душа, поливая камни сверху. Вода, которая не успела испариться, вытекает из ведра, поэтому, чтобы не обжечь ноги, необходимо цержать их в тазике с водой.


Обслуживание «печки» бани заключается в периодическом подтягивании резьбовых контактов на болтах силовой колодки, замене растрескавшихся верхних камней. Если спираль перегорела на расстоянии до 100 мм от клеммы, то ее можно укоротить и использовать дальше. Если же ближе к середине - надо менять. У меня спирали хватало на год работы (примерно на 60 сеансов) Для контроля спирали удобно использовать токоизмерительные клещи.

Рис.1. Печь каменка в держателе. Установлена на подставку и накрыта деревянным ограждением.

Рис.1. Печь каменка в держателе.
 Установлена на подставку и накрыта деревянным ограждением.

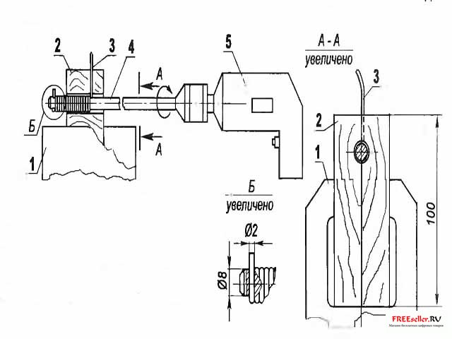
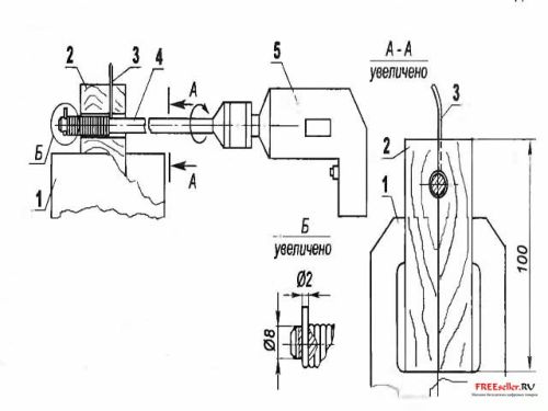
Рис.2. Намотка спирали электро нагревателя. 1 - губки тисков; 2 - направляющая прокладка (сосна, брусок 20x50, L100,2 шт.); 3 - нагреватель (нихром, проволока диаметром 1,5); 4 - оправка (стальной пруток диаметром 8, L450 500); 5 - электро дрель с регулятором оборотов.

Рис.2. Намотка спирали электро нагревателя.

 1 - губки тисков; 2 - направляющая прокладка (сосна, брусок 20x50, L100,2 шт.); 3 - нагреватель (нихром, проволока диаметром 1,5); 4 - оправка (стальной пруток диаметром 8, L450 500); 5 - электро дрель с регулятором оборотов.

Рис.3 Печка-каменка из ведра: 1 - наполнитель (камни или осколки керамики); 2 -силовая колодка; 3 - корпус (ведро или бельевой бак) 4 - спираль.

Рис.3 Печка-каменка из ведра:
 1 - наполнитель (камни или осколки керамики); 2 -силовая колодка; 3 - корпус (ведро или бельевой бак) 4 - спираль.

Рис.4. Электросхема печи каменки.>

Рис.4. Электросхема печи каменки.

Рис.5. Подставка. 1 - опоры держателя; 2 - продольная связь (2 шт.); 3 - поперечина (2 шт.): 4 - упор, 5 - ванна; материал деталей 1 4 сталь, уголок 25x25

Рис.5. Подставка.

 1 - опоры держателя; 2 - продольная связь (2 шт.); 3 - поперечина (2 шт.): 4 - упор, 5 - ванна; материал деталей 1 4 сталь, уголок 25x25

Рис.6. Силовая колодка: 1 -корпус; 2 - шайбы (сталь s2,4 шт.); 3 - болт Мбх30(2 шт.); 4 - нагреватель (нихром, проволока диаметром1,5); 5 - плата (ацеид s10); 6 - изолятор (керамические бусы); 7 - кожух (оцинкованная жесть s0,8); 8 - клемма (медь, латунь s 0,8 2 шт ); 9 - крепление клеммы (гайка М6, 4 шт.); 10 - шайба (медь s 1,5-2 6 шт )

Рис.6. Силовая колодка:
 1 -корпус; 2 - шайбы (сталь s2,4 шт.); 3 - болт Мбх30(2 шт.); 4 - нагреватель (нихром, проволока диаметром 1,5); 5 - плата (ацеид s10); 6 - изолятор (керамические бусы); 7 - кожух (оцинкованная жесть s0,8); 8 - клемма (медь, латунь s 0,8 2 шт ); 9 - крепление клеммы (гайка М6, 4 шт.); 10 - шайба (медь s 1,5-2 6 шт )

Рис.7. Мини полок из деревянного сиденья.

Рис.7. Мини полок из деревянного сиденья.

Рис.8. Держатель.

Рис.8. Держатель.

Рис.9. Модернизация pозетки: 1 - корпус розетки (керамика); 2,11 - крепление силового провода после модернизации (винт, шайба, гайка МЗ); 3 - силовой провод; 4,9 - крепление силового провода в стандартном розетке (фигурная шайба-прижим, вит МЗ); 5 - промежуточная планка стандартной розетки, 6 - неподвижный контакт; 7 - подвижный контакт; 8 - пружина сжатия; 10 - крепление промежуточной планки (винт МЗ); 12 - замазка-фиксатор (алебастр, гипс)

Рис.9. Модернизация pозетки:
 1 - корпус розетки (керамика); 2,11 - крепление силового провода после модернизации (винт, шайба, гайка МЗ); 3 - силовой провод; 4,9 - крепление силового провода в стандартном розетке (фигурная шайба-прижим, вит МЗ); 5 - промежуточная планка стандартной розетки, 6 - неподвижный контакт; 7 - подвижный контакт; 8 - пружина сжатия; 10 - крепление промежуточной планки (винт МЗ); 12 - замазка-фиксатор (алебастр, гипс)

Рис.10. Сиденье: 1 - боковая полка (доска 40х 140, L660,2 шт.); 2 - средняя полка (доска 40x140. L450); 3 - стена; 4 - ванна; 5 - перемычка (брусок 30x40, L440,2 шт.); 6 - боковой упор (брусок 40x40. L14

Рис.10. Сиденье:
 1 - боковая полка (доска 40х 140, L660,2 шт.); 2 - средняя полка (доска 40x140. L450); 3 - стена; 4 - ванна; 5 - перемычка (брусок 30x40, L440,2 шт.); 6 - боковой упор (брусок 40x40. L140)

В заключение хотелось бы обратить более серьезное внимание на соблюдение правил техники безопасности при пользовании «баней».

Любые электроустановки с питанием от сети 220 В в сырых и влажных помещениях создают серьезную угрозу поражения электрическим током. Причем электротравму можно получить не только от соприкосновения с металлическими деталями, но и при касании любых предметов, находящихся в помещении, так как влажные поверхности являются отличными проводниками электрического тока. Поэтому пользоваться ванной комнатой и даже заходить в нее можно только при полностью отключенном питании электронагревателя-автомат должен находиться вне помещения ванны и быть обязательно выключенным. Это главное правило.

К подставке под электрокаменку для большей безопасности можно подвести заземление, подключив ее к трубе холодной воды. Дополнительно подставку следует заизолировать от ванны, наклеив кусочки резины от велокамеры.


Последовательность включения Бани в квартире

  1. Убедиться, что автомат на 25 А в электрощитке выключен. 

  2. Подключить блок питания к силовой колодке на корпусе электрокаменки. 

  3. Включить вилку блока питания в розетку. 

  4. Включить автомат в электрощитке.


После завершения прогрева ванного помещения до нужной температуры осуществить отключение в обратной последовательности, начиная с автомата.

О.Лавров, г. Москва


0

комментариев

40 580

просмотров

Похожие самоделки

Имя:*
E-Mail:


Песочница RSSРеклама на сайтеFreeseller.ru - Полезные самоделки
Copyright © 2008-2025