В конструкции самодельной мотопомпы, предлагаемой вашему вниманию, используются подвесной велосипедный мотор Д-6 и центробежный насос от «Камы».
Кронштейном двигателю служит рама дорожного велосипеда. Ее задняя вилка укорачивается до 100 мм. Во втулку рамы на место каретки устанавливается отрезок стальной трубы так, чтобы ее концы выступали с обеих сторон на 30 мм. К основанию агрегата (дюралюминиевому листу толщиной 5 мм, размером 250 х 300 мм) рама крепится парой резьбовых хомутов - за эту трубу, а стальной пластинкой с двумя болтами - за укороченную заднюю вилку. Так же, как и на велосипеде, иа раму устанавливаются двигатель и бензобак. Поскольку время непрерывной работы, как правило, невелико, его объем может быть всего 1,5 - 2 л, поэтому подойдет обычная жестяная банка из под краски.
Рис. 1. Конструкция самодельной мотопомпы с бензиновым двигателем от велосипеда:
1 - насос, 2 - промежуточный ролик привода вентилятора, 3 - вентилятор, 4 - кронштейн двигателя, 5 - двигатель Д 6, 6 - топливный бак, 7 - транспортная ручка, 8 - откидной упор, 9 - основание, 10 - колесо.
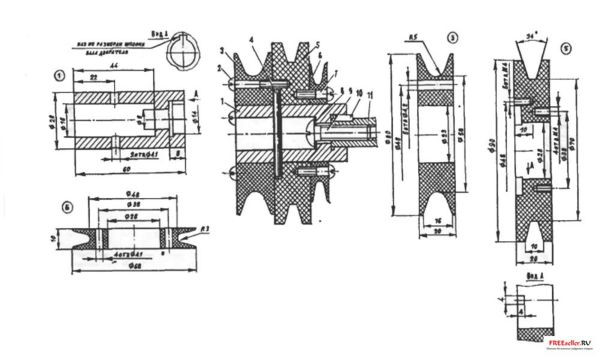
Доработка двигателя заключается в установке вместо сцепления блока приводных шкивов. Сняв крышку, демонтируйте ведомую шестерню и диски сцепления. Ведущая шестеренка спрессовывается с хвостовика коленчатого вала съемником. На ее место ставится выточенная из стального прутка ступица шкивов. На валу она крепится осевым болтом. Текстолитовые шкивы для привода насоса и вентилятора предварительно соединяют торцами с помощью четырех винтов М4. Их надевают на ступицу меньшим шкивом к двигателю и сдвигают до упора. В радиальное отверстие ступицы вставляют цилиндрический штифт 0 4 мм, а сдвоенный шкив перемещают обратно так, чтобы концы штифта оказались в радиальном пазу большего шкива. Затем на ступицу надевают третий, пусковой шкив и присоединяют его с торца пятью винтами М4. Таким образом, весь блок шкивов будет надежно зафиксирован на хвостовике вала.
Стационарные условия работы двигателя требуют его принудительного охлаждения, которое обеспечивает вентилятор, приводимый ремнем от малого шкива коленчатого вала. Крыльчатка вырезается из дюралюминиевого диска толщиной 0,7 мм и диаметром 140 мм. Сделав 12 радиальных прорезей и отогнув их передние кромки на 30° к плоскости вращения, получают лопасти. Текстолитовый шкив, к которому крепится крыльчатка, таких же размеров, как и ведущий, но центральное отверстие расточено до 0 30 мм для установки подшипника № 200. Болтом М10, вставленным в подшипник, вентилятор крепится на пластинчатом кронштейне.
Там же установлены оси двух промежуточных роликов-шкивов, служащих для изменения направления ременной передачи. На стойке рамы кронштейн фиксируется винтовым зажимом. Поскольку мощность на привод вентилятора требуется небольшая, с передачей справится ремешок 0 3 - 3,5 мм. Его можно вырезать из толстого кожаного ремня, скруглив углы напильником или острым ножом. Чтобы он не растягивался от случайно попавшей влаги, а также для лучшего сцепления со шкивами его дважды покрывают резиновым клеем. Концы соединяют парой проволочных скобок, расположенных во взаимно перпендикулярных плоскостях.
Рис. 2. Блок ведущих шкивов в сборе:
1- ступица, 2 - винты М4 (5 шт.), 3 - пусковой шкив, 4 - штифт 0 4 мм, 5 - шкив привода насоса, 6 - шкив привода вентилятора, 7 - винты М4 (4 шт.), 8 - шайба, 9 - винт М8Х 1, 10 - шпонка, 11 - хвостовик коленчатого вала двигателя.
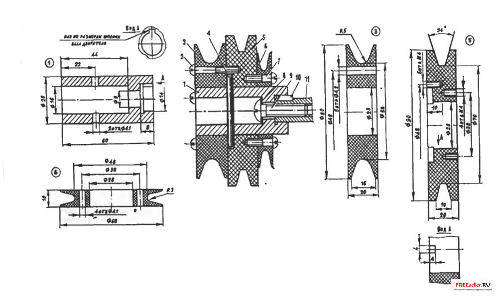
Насосная секция самодельной мотопомпы с бензодвигателем собирается из запчастей к электронасосу «Кама». Это рабочее колесо, крышка и корпус насоса, резиновый сальник, прокладка под крышку, щит «Р», подшипники № 201, крышка подшипника, манжета сальника, приемный клапан, глухая гайка и болт для удаления воздуха. Оригинальные детали узла - опорный текстолитовый диск, валик, шкив, дистанционную втулку и шайбы - нетрудно изготовить самостоятельно. Собрав детали по чертежу, приведенному на рисунке 3, получаем отдельную насосную секцию. Винты, соединяющие ее корпусные части, используются также для крепления узла на пластинчатом кронштейне. Его положение на основании уточняется по размеру выбранного клинового ремня, передающего вращение от двигателя к насосу. Регулировку натяжения ремня обеспечивают продольные пазы крепежных болтов.
Рис. 3. Насосная секция:
1 -глухая гайка, 2 - крышка насоса, 3 - рабочее колесо, 4 - прокладка, 5 - корпус насоса, 6 - крышка подшипника, 7 - винт М8, 8 - дистанционная втулка, 9 - щит "Р", 10 - опорный диск, 11 - стопорная шайба, 12 - подшипник № 201, 13 - шкив, 14 - шпонка, 15 - диск, 16 - валик, 17 - втулка.
Завершает изготовление бензопомпы установка на основании оси с парой колес от детской прогулочной коляски, транспортной ручки из дюралюминиевой трубы 0 22 мм и откидных упоров. Поворотная рукоятка управления дросселем карбюратора монтируется на привычном месте - велосипедном руле, неподвижно закрепленном во втулке рамы.
Запускается двигатель капроновым шнуром длиной 70-75 см с поперечной ручкой и узлом на другом конце. Изменение оборотов, а следовательно, производительности агрегата осуществляется поворотом рукоятки газа, а остановка - тумблером - замыкателен массы.
Для приведения насоса в действие его всасывающая линия предварительно заполняется водой. Этому служит простое заливное устройство: вертикальная труба длиной около 1 м с вентилем и воронкой в верхней части.
Производительность насоса при средних оборотах двигателя (3000 - 4000 об/мин) - 1000-1200 л/ч, с подачей на 70 м, подъемом до 3 м и высотой всасывания 1 -1,2 м.
На таком режиме двигатель обладает повышенным ресурсом и имеет невысокий уровень шума и расход топлива - всего 400 см3/ч. Однако, если потребуется большая производительность, или напор, двигатель можно заставить работать в режиме максимальной мощности - при 5500 об/мин.
