Как сделать самодельный мини мотоцикл

  • Опубликовано: 31 марта 2010

Как сделать самодельный мини мотоцикл


Этот миниомотоцил был задуман как типовая конструкция для рыбаков, грибников, любителей дальних странствий. Назначение определило и основные качества машины — высокую надежность, удобство в эксплуатации, уходе и при ремонте. В минимотоцикле использовано много серийных деталей, что облегчит его массово» изготовление.


Внимание!!! Информация содержащаяся на данной странице, на сегодняшний день может быть устаревшей и содержать ошибки. Поэтому приводиться исключительно в ознакомительных целях.

Технические характеристики мини мотоцикла

 

- Вес (сухой), - 27 кг;

- Двигатель Ш 52, - 2,0 л.с.

 

Габаритные размеры, мм

 

- длина - 1100мм;

- ширина - 500мм;

- высота - 900мм;

- клиренс - 150мм;

- максимальная скорость -65 км/ч.

 

Мотоцикл снабжен большим багажником и вместительным инструментальным ящиком Амортизаторы на обоих колесах значительно снижают утомление при дальних поездках. Это подтвердилось, кстати сказать, во время пробегов по маршруту Москва - Смоленск - Минск - Вильнюс - Рига-Талинн- Ленинград и в ходе повседневной эксплуатации. Машина продемонстрировала хорошую устойчивость, высокую приемистость и безотказно справлялась со всеми трудностями пути.

 

 

Рис.1. Внешний вид самодельного мини мотоцикла

 

Рама

Изготовлена из тонкостенных трубок 27 х 1 мм (рис. 2). Пригодны части от велосипедной рамы, сваренные, как показано на рисунке.

 

 

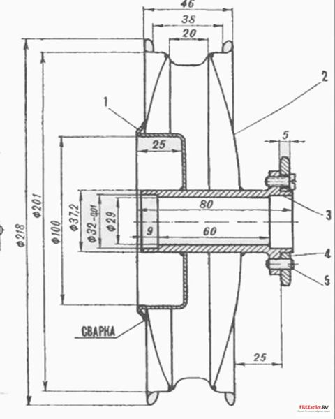
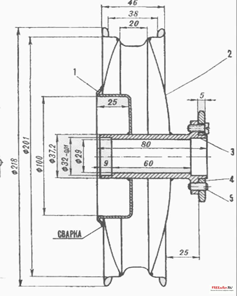
Рис. 2. Рама микромотоцикла и детали колеса:
1 и 3 - дистанционные втулки заднего колеса из дюралюминия Д16, 2 - дистанционная втулка из Ст.З, 4 - стандартный тормозной барабан от велосипеда, 5 - стандартная втулка переднего колеса мотовелосипеда, 6 - дистанционная втулка из Ст.З, 7 - фланец, 8 - место для подшипника.

 

Передняя вилка

С амортизаторами (рис. 3) - от велосипеда 16-В, в которую внесены следующие изменения:

 

- До размеров, указанных на чертеже, отпиливаются левая и правая половины.

- затем рычаги маятников устанавливаются на колесо и закрепляются гайками.

- Из стали шириной 40 мм и толщиной 3 мм вырезается полоска, и ею обжимаются концы вилки.

- После этого концы вилки привариваются к полоске-основанию.

- Амортизаторы при переделке снимать не надо.

 

 

Рис.3. Передняя вилка.

 

Задняя вилка

Задняя вилка показана на рис. 4, с амортизаторами - от мотоцикла , "Ява". Можно использовать этот узел от мопеда «Рига». На чертеже показано, какую часть рамы необходимо выпилить из старой рамы серийного мотоцикла и вварить в раму моей самоделки.

 

 

Рис.4. Задняя вилка.

 

Ободы и диски колес

(рис. 6 и 7). Самодельные покрышки установленные на моей машине, в 1,5 раза шире, чем обычно применяемые в подобных машинах покрышки от самокатов. Поэтому ширина ободов между буртиками составляет 38 мм. Посадочные же размеры стандартные.

Ободы изготовлены из колеса мопеда, Рига на оправке (рис. 5)

 

 

Рис.5. Оправка для изготовления ободов

 

 

Рис. 6. Обод с тормозным барабаном в сборе:
1 - тормозной барабан, 2- диск колеса, 3- место подшипника №201, 4 - звездочка на 18 зубьев, 5 - штифт диаметром 6 мм

 

 

Рис.7. Обод колеса

 

Двигатель

Устанавливается на раму после ряда переделок:

 

Удаляются педали и ставится кикстартер (рис 8, 9). На собранном двигателе ножовкой отпиливается бобышка правой половины картера, через которую проходит вал шатунов. Высота сохранившейся части бобышки должна составить 3 мм, а на валу остается риска. Далее двигатель разбирается, разъединяются половинки картера и извлекается вал шатунов, отжигается место риски и «излишек» отпиливается. На бобышку правой половины картера ставится заглушка из дюралюминиевой пластины толщиной 3 мм с прокладкой из прессшпана. Затем обрезается и ставится на место тормозная втулка, на валу шатунов делается паз под пружину кикстартера от мотоцикла К-125 и двигатель с кикстартером собирается.

 

 

Рис. 8 Общий вид переделанного двигателя.

 

 

Рис.9. Опорный диск тормозными колодками и втулками.

 

Руль

От мопеда Рига», укорочен до 500 мм, все его части стандартные.

 

Тормозные колодки и барабаны

От переднего колеса велосипеда 16-В.

 

Стоп сигнал

От автомобиля М-20, выключатель его - от мотороллера ВП 150.

В. Петровский, г. Уфа



0

комментариев

91 020

просмотров

Похожие самоделки

Имя:*
E-Mail:


Песочница RSSРеклама на сайтеFreeseller.ru - Полезные самоделки
Copyright © 2008-2025