
Культиватор дополненный рыхлителем, за основу был взят списанный свекловичный культиватор серийного производства. Укомплектовка узлов выполнялась с учетом мощности трактора «Малыш»
На культиваторе, который навешивается с помощью винтового подъемника, заменяют рабочие органы, когда нужно
используют в середине секции - стрельчатые, а по краям - бритвенные папы. Можно установить и долотообразные рабочие органы, а также окучники.
Рис. 1. Самодельный Культиватор
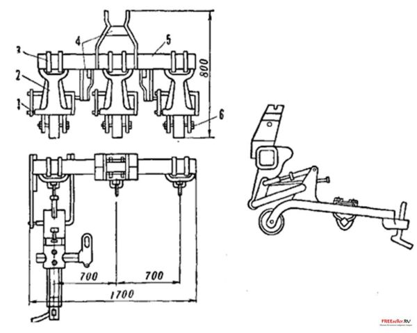
1 - ось параллелограмма, 2 - кронштейн нор-гуса, 3 - хомут, 4 - кронштейн, 5 - балка, 6 - ось катка.
Школьный, четырехпапный культиватор легко навешивается на трактор с помощью гидравлической системы, для этого испопьзуется масляный насос и гидравлический распределитель с раздепьно-агрегатной навесной системой трактора МГЗ-5М. Резервуаром для масла служит корпус выбракованного огнетушителя. Управляется гидросистема рукояткой.
Культиватор дополненный рыхлителем (рис. 2], за основу был взят списанный свекловичный культиватор серийного производства. Укомплектовка узлов выполнялась с учетом мощности трактора «Малыш» |8 л.с..]. Каждая из двух взятых секций свекловичного культиватора состоит из трех органов. Секции рыхлящих зубьев опираются на опорное колесо. Секции рыхлителя крепятся на валу, взятом со штока гидравлического подъемника.
Рис. 2. Секция самоходного рыхлителя;
1 - лапа, 2 - рама, 3 - растяжка. 4- опорный каток.
Держит вал специально изготовленная рама, прикрепленная к раме трактора. Над ней смонтировано подъемное приспособление, взятое из штурвала подъемника плуга и уменьшенное до нужных размеров (рис. 3].
Таким образом, три конструкции рыхлителей похожи и по замыслу и по работе, выполняемой на поле. Изготовить эти орудия несложно. Конструкторская задача сводится здесь главным образом к поискам наиболее целесообразной компоновки, а также способов крепления отдельных секций и навешивания культиватора на трактор.