Устройство для запуска двигателя от розетки 220 Вольт

  • Опубликовано: 30 ноября 2009


В моторном отсеке с помощью кронштейна (рис. 2) укреплена плата, на которой смонтированы кнопка SB1 (для «проворачивания» и пуска двигателя), переключатель SA1 «аккумулятор - сеть» и вилка разъема (для подключения к источнику I питания).

 


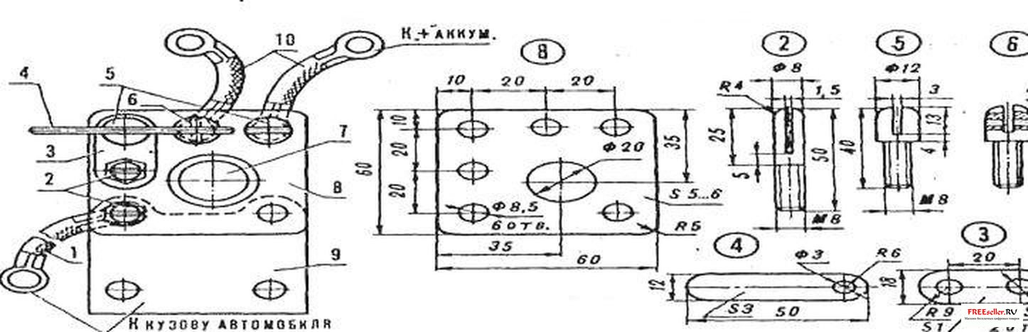
Рис. 2 Плата. 
1 - соединительные провода, 2 - штыри, 3 - перемычка, 4 - рычаг переключателя, 5, 6 контакты переключателя, 7- кнопка, 8 - основание, 9 - кронштейн крепления


Устройство обеспечивает проворачивание коленвала двигателя, а также запуск двигателя ключом замка зажигания или кнопкой SB1 при включенном зажигании. При этом от источника питания энергию получают от аккумулятора автомобиля.

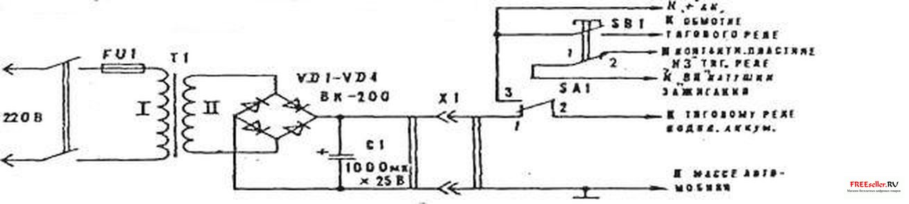
Работу устройства рассмотрим на примере автомобиля ВАЗ-2101. Подсоединяем источник к бортовой сети с помощью разъема Х1 (рис. 1). Переключатель SA1 устанавливаем в положение «сеть», а сам источник подсоединяем к сети 220 В. Ключ зажигания переводим в положение «выключено». Нажатием кнопки SB1 осуществляем проворачивание коленвала двигателя. При этом питание от аккумулятора через контакты кнопки SB 1 подается на тяговое реле. Питание от источника через контакты 1-2 переключателя SA1 поступает на тяговое реле и далее через замкнувшиеся контакты тягового реле - на обмотку стартера.

 


Рис.3 Розетка 1 - соединительные провода, 2- трубка диамтером 10 мм, 3 - корпус

Запуск двигателя осуществляется; ключом зажигания, как обычно. При включенном зажигании запуск осуществляется также при нажатии кнопки SB1.

При использовании устройства на автомобилях «Москвич-2140» и «Запорожец» в работу вступают контакты 1-2 кнопки SB1, которые препятствуют попаданию тока от источника в систему зажигания автомобиля во время работы тягового реле. Провод, соединяющий контактную пластину «КЗ» на тяговом реле и ! зажим «ВК» катушки зажигания, необходимо отключить. Остальное происходит так, как описано выше. После окончания работы устройство отключают от сети и от автомобиля, а переключатель SA1 устанавливают в положение «аккумулятор».

В качестве трансформатора Т1 использован переделанный автотрансформатор ЛАТР-1М. Переделка состоит в следующем. Обмотку делят на две равные по количеству витков части. Обе половины соединяют параллельно и доматывают 45-50 витков провода 01,5 мм. Это будет сетевая обмотка. После прокладки слоя изоляции наматывают обмотку II, состоящую из 15 витков провода сечением 40-50 мм2.

Диоды - ВК-200 (или другие, рассчитанные на выпрямленный ток не менее 200 А) установлены на текстолитовой пластине без радиаторов.

Разъем XI - самодельный. Корпус розетки (рис. 3) изготовлен из текстолита или другого изоляционного материала. В корпус запрессованы или вклеены гнезда (медная трубка 01X1 мм), к которым припаяны соединительные провода. Вилка смонтирована на плате (рис. 2). Переключатель «аккумулятор - сеть» также самодельный. Его устройство видно из того же рисунка.

Провода, по которым осуществляется питание стартера, должны иметь сечение 30-40 мм и быть возможно короче. Наличие конденсатора С1 не обязательно.



0

комментариев

84 582

просмотра

Похожие самоделки

Имя:*
E-Mail:


Песочница RSSРеклама на сайтеFreeseller.ru - Полезные самоделки
Copyright © 2008-2025