Cхема блокиратора параллельного телефона

  • Опубликовано: 15 декабря 2009


Схема блокиратора параллельного телефона, или как защититься от незаконного подключения к вашей телефонной линии.


При отсутствии свободных номеров на АТС, можно установить параллельный телефон. Данный вопрос легко решается предприятием связи с согласия основного абонента, но возникает возможность прослушивания абонентами друг друга. Этого можно избежать, если применить предлагаемый блокиратор параллельного телефона. Прибор сделан на основе промышленного блокиратора спаренного абонентского комплекта (САКа) АТСК 50/200, АТСК 100/2000.

Преимущества данной схемы: 

- полярность подключения телефонной линии не имеет значения;

- если один из абонентов снял трубку с телефонного аппарата и приступил к набору номера, другой абонент не может занять линию;

- устройство не боится перенапряжения в линии (гроз), так как не содержит полупроводниковых приборов, что особенно актуально для сельских телефонных сетей.


Рассмотрим порядок работы блокиратора в различных режимах:


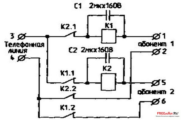
Исходящая связь. Пусть абонент 1 первым снял трубку телефонного аппарата. Образуется цепь: клемма 3 - контакты реле К2.1 - катушка реле К1 - телефонный аппарат абонента 1 - контакты реле К2.2 - клемма 4. При этом срабатывает реле К1 и своими контактами отключает абонента 2 от телефонной линии.


Когда же абонент 1 набирает номер, реле К1 не успевает срабатывать во время кратковременного размыкания шлейфа импульсным контактом телефонного аппарата абонента 1. После разговора абонент 1 кладет трубку телефонного аппарата, реле К1 отпускает, и схема переходит в исходное состояние.

Порядок работы для абонента 2 аналогичен, только срабатывает реле К2 и отключает абонента 1.


Входящая связь. При поступлении вызова с линии реле К1 и К2 не срабатывают, так как они зашунтированы конденсаторами С1 и С2. Звенит звонок в телефонных аппаратах обоих абонентов. Если первым поднял трубку телефонного аппарата абонент 1, то срабатывает реле К1 и своими контактами отключает абонента 2 от линии. Если первым поднял трубку абонент 2, аналогично срабатывает реле К2 и отключает абонента 1 от линии. После окончания разговора, когда абонент кладет трубку телефонного аппарата, отпускает соответствующее реле, и схема переходит в исходное состояние.

Реле К1 и К2 - из промышленного блокиратора АТСК 50/200 (АТСК 100/2000). Но эти реле можно изготовить самостоятельно, взяв за основу любое, реле типа РПН с размыкающимися контактами. Стандартное реле имеет 2 обмотки. Обмотку 1-2 можно замкнуть накоротко для лучшего замедления при отпускании.

В качестве корпуса можно использовать корпус блокираторов АТСК 50/200, АТСК 100/2000 или изготовить любой другой. Реле нужно устанавливать так, чтобы плоскость якорей реле была перпендикулярна поверхности земли.

Блокиратор, собранный по предлагаемой схеме, проработал от АТС 50/200 уже почти год, и сбоев в работе не было.

А.Доманчук, г.Бобруйск



0

комментариев

29 483

просмотра

Похожие самоделки

Имя:*
E-Mail:


Песочница RSSРеклама на сайтеFreeseller.ru - Полезные самоделки
Copyright © 2008-2025