Самодельная электростанция

  • Опубликовано: 3 декабря 2009

Самодельная электростанция

Прежде чем говорить о конструкции, подумайте, какой генератор вам доступен. Существуют мощные малогабаритные генераторы для бытовых электростанций, но они слишком дороги, да и не всегда продаются отдельно от бензо двигателей. Поэтому проще всего приобрести генератор от какого-нибудь грузовика, а в крайнем случае подойдет и от легкового автомобиля - все будет зависеть от задач, которые вы на него возлагаете.


Поговорим о простейшей электростанции, в которой используется генератор от старого легкового автомобиля (например, типа Г-12), который сможет обеспечить питанием 3...5 аварийных электроламп напряжением 12 В, размещенных в нескольких помещениях. К тому же, если вы смонтируете простой преобразователь на двух транзисторах, то 12 В постоянного тока превратите в 220 В переменного. Мощности такого преобразователя вполне достаточно для питания небольшого полупроводникового телевизора и одной осветительной лампочки, кроме того, такая электростанция окажется полезна для подзарядки аккумуляторов.


Работает агрегат следующим образом. Бензиновый двигатель УМУ, закрепленный на специальной станине, через цепную передачу с передаточным соотношением 1:1 вращает промежуточный вал, на котором закреплен шкив клиноременной передачи. Для устойчивой работы генератора при токе полной нагрузки 20 А якорь должен вращаться с частотой 1600 оборотов в минуту. Поэтому в клиноременной передаче соотношение диаметров шкивов должно быть не менее 1:4, то есть на промежуточном валу УМУ находится шкив большего диаметра, а на якоре генератора - меньшего. Выработанное постоянное напряжение 12 В подается через предохранители и выключатель в кабель и на преобразователь переменного тока. На конце кабеля питания имеется двухштырьковый разъем для подключения в аварийную сеть дома, а от преобразователя идет отдельный шнур, заканчивающийся обычной "переноской" с двумя стандартными розетками. Преобразователь электростанции смонтирован в кожухе и закреплен на станине отдельным блоком.

Самодельная электростанция

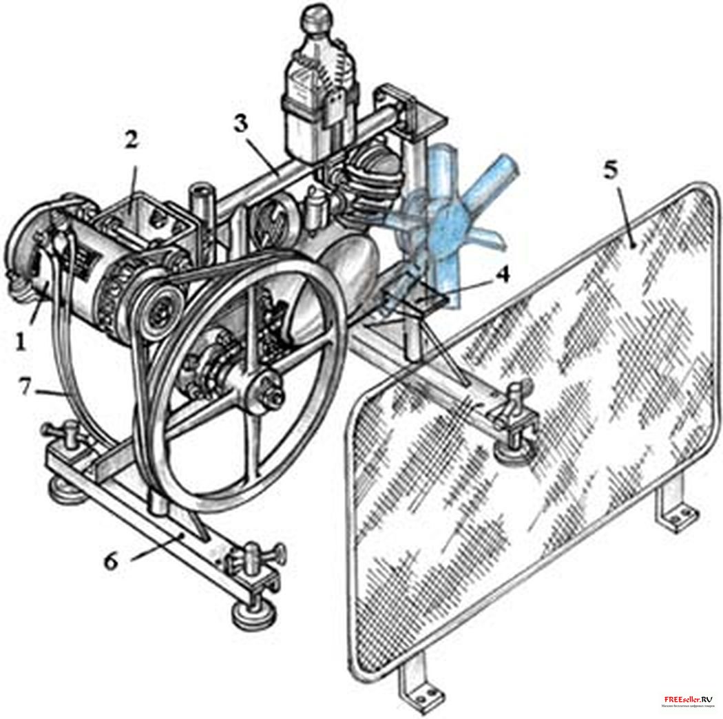
Рис. 1. Общий вид электростанции:
 1 - генератор; 2 - кронштейн крепления генератора; 3 - рама УМУ; 4 - площадка крепления вентилятора; 5 - оградительная сетка; 6 - станина; 7 - кабель генератора 12


На станине электростанции предусмотрено крепежное место для кронштейна принудительного воздушного охлаждения двигателя.

Работу начните с подбора шкива промежуточного вала. Его диаметр должен быть в пределах 380... 400 мм. Только после этого вы можете вытачивать на токарном станке промежуточный вал.


Станина агрегата (рис. 2) трубчатая Н-образная, приваренная к двум горизонтальным опорам. Стальные трубы диаметром 30...35 мм нарежьте ножовкой по металлу и сварите с горизонтальными опорами газовой или электросваркой. Затем из листовой стали толщиной 2,5...3 мм изготовьте шесть штук "косынок" жесткости и площадку для крепления нижнего фланца рамы УМУ. Эти детали приварите к станине. Далее закрепите четырьмя болтами М8 раму УМУ к площадке.


Самодельная электростанция

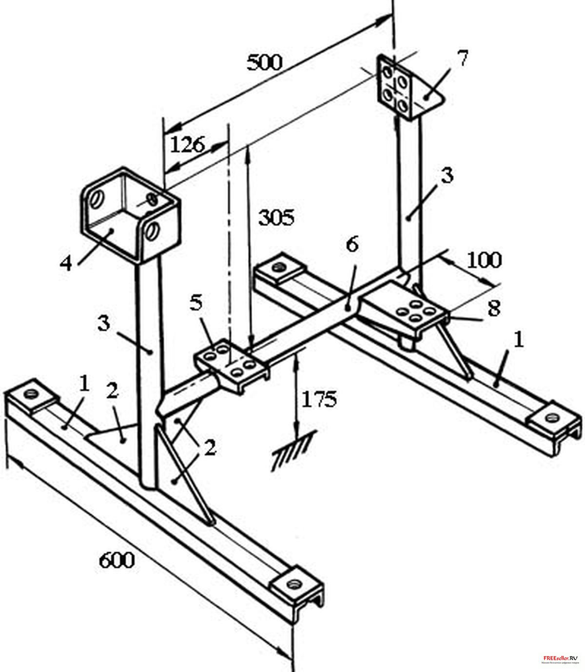
Рис. 2. Станина:
 1 - опора; 2 - косынка жесткости; 3 - вертикальная стойка; 4 - кронштейн генератора; 5 - площадка крепления нижнего фланца УМУ; 6 - балка станины; 7 - угловой фланец; 8 - площадка для крепления вентилятора.


Из той же листовой стали изготовьте передний угловой фланец и кронштейн генератора станины. Закрепите их болтами М8 к раме УМУ и после этого приварите сваркой к вертикальным стойкам.


В последнюю очередь приварите площадку для крепления кронштейна вентилятора принудительного охлаждения.

На рисунке показан один из способов крепления ножек на опоры. Эти места сделайте так, как сочтете удобным; возможно, вас больше устроят не ножки, а колеса для перемещения агрегата.

Самодельная электростанция

Рис. 3. Детали станины:
 А - определяется при установке рамы УМУ на станину, 1 - угловой фланец; 2 - кронштейн генератора; 3 - площадка крепления нижнего фланца УМУ; 4 - площадка крепления вентилятора.


Сборка электростанции ничем особенным не отличается, ее можно производить в любом произвольном порядке, поэтому уделим особое внимание преобразователю.


Он представляет собой двухтактный генератор (мультивибратор) с трансформаторной связью. Собран он на двух транзисторах, включенных по схеме с общим эмиттером и трансформатором. Напряжение, снимаемое с делителя напряжения R1 и R2, задает смещение на базах обоих транзисторов.


В результате действия положительной обратной связи через базовую обмотку трансформатора мультивибратор запускается и начинает генерировать прямоугольные импульсы с частотой несколько кГц. Именно поэтому от генератора ни в коем случае нельзя питать приборы, рассчитанные на частоту 50 Гц, например, холодильник или ламповый телевизор. Импульсное напряжение повышается обмоткой WIII трансформатора до амплитуды 220 В.


Так как трансформатор работает на достаточно высоких частотах, чтобы потери мощности на транзисторах и в сердечнике были минимальными, желательно подобрать для сердечника материал с прямоугольной или почти прямоугольной петлей гистерезиса, например, пермалой 50НП, 65НП, 34НКНП, 79НН. Использование феррита в данном случае не оправдано, так как частота генератора (мультивибратора) значительно ниже 50 кГц.


Сердечник желательно использовать типа ШЛ 12х16... ШЛ 12х25. каркас из прессованного электрокартона или гетинакса толщиной 0,5... 0,8 мм. Обмотки WI - 62 (31+31) витка, намотанного проводом ПЭВ-1 диаметром 1,2 мм, WII 16 (8+8) витков ПЭВ-2 диаметром 0,23 мм. Между ними прокладывается изоляция - один-два слоя лакоткани или фторопласта. Последней намотайте повышающую обмотку W III - 575 витков проводом ПЭВ-2 диаметром 0,23.


Самодельная электростанция

Рис. 4. Промежуточный вал:
 1 - рама УМУ; 2 - промежуточная звездочка; 3 - шкив; 4 - шпонка; 5 - промежуточная ось УМУ.


Транзисторы установите на радиаторах площадью 60...100 см2. Монтаж навесной, на плате толщиной 2,5...4 мм.

Транзисторы VT1 и VT2 - типа КТ 827 в металлическом корпусе. Индекс значения не имеет. Желательно подобрать их по коэффициенту усиления по току. Конденсатор - К53-1, резисторы типа МЛТ-5 или ТВО.


Самодельная электростанция

Рис. 5. Принципиальная схема преобразователя.


Правильно собранная схема начинает работать сразу, без предварительной настройки. При подаче напряжения питания трансформатор должен сразу запищать. Если писка нет, то поменяйте местами крайние выводы обмоток WI и WII.


Еще раз напомним. Использовать преобразователь для бытовой техники с двигателями (холодильники, миксеры, дрели и т.п.) НЕЛЬЗЯ, так как они рассчитаны на работу от переменного напряжения с частотой 50 Гц.

Похожие самоделки

Комментариев 2
  1. к автомобильному генератору можно подключить повышающий трансформатор на обмотки до диодного моста, и не какого преобразователя не надо лепить КПД намного выше!
    0
  2. Но диодный мост не даст постояного тока
    0
Имя:*
E-Mail:


Песочница RSSРеклама на сайтеFreeseller.ru - Полезные самоделки
Copyright © 2008-2025