Изготовление самодельной бор машинки.
Этот станок в шутку иногда называют бормашинкой, хотя правильнее было бы назвать его сверлильно-фрезерным. Фрезерованием можно обрабатывать не только плоские, но и такие поверхности, которые прежде с большим трудом обрабатывали штихелями, шаберами и тому подобными инструментами.
В нашей конструкции использован двигатель типа KN-4 от подольской бытовой швейной машины, который комплектуется педальным регулятором оборотов и сетевым кабелем с разъемами. Этот двигатель мал по размеру, прост в обслуживании, у него плавный запуск, бесшумный ход. Он также снабжен системой для снижения радиопомех, выполнен по II классу защитной изоляции, не требует заземления и дополнительного охлаждения.
В качестве гибкого вала обычно используют тросовую передачу - вращающийся трос находится в гибкой оболочке - "рубашке". Точно такие обычно устанавливают для передачи крутящего момента на спидометре автомобилей. Но для нашего станка все же лучше подойдет фирменный "рукав" от зубоврачебной бормашины или "зуботехнический рукав", который применяют в своей работе техники-протезисты. У того и у другого гибкий вал заканчивается специальным разъемом, к которому присоединяется фирменный наконечник с цанговым зажимом для захвата режущих инструментов.
Для изготовления станка необходимо сделать подставку с кронштейном для двигателя, на ней же закрепляется держатель гибкого вала. В данной конструкции вал электродвигателя соединен с гибким валом через мягкий переходник, выполненный из отрезка медицинского шланга. Такое соединение позволяет обойтись без очень точной регулировки соосности обоих валов.
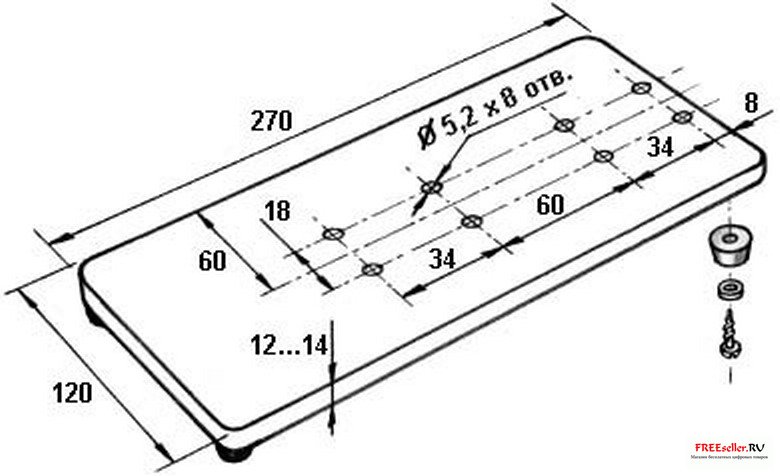
Подставку проще всего вырезать ножовкой из фанеры толщиной 12 или 14 мм. Края ее опилите напильником, просверлите крепежные отверстия и зачистите поверхность наждачной шкуркой.
Кронштейн для электродвигателя согните из листовой стали толщиной 3 мм и просверлите в нем отверстия согласно размерам, приведенным на чертеже. Держатель гибкого вала можно сделать из материала, легко поддающегося механической обработке (текстолит, эбонит, дюралюминий или твердые породы дерева - бук, дуб, береза).
Отверстие для крепления хвостовика гибкого вала лучше просверлить в последнюю очередь, когда обе части держателя будут готовы. Соедините части держателя через прокладку толщиной 0,5...0,7 мм, вырезанную из плотного картона или пресшпана, плотно стяните крепежными винтами и только после этого сверлите. Когда отверстие будет готово, прокладку удалите. Теперь хвостовик гибкого вала можно надежно фиксировать в держателе.
Если есть возможность изготовить кронштейн для двигателя и держатель гибкого вала из целого дюралюминиевого бруска (вариант 2), то это будет наилучшим конструкторским решением.
Прежде чем крепить гибкий вал к подставке, снимите с него шкив, оставив вылет вала на 22 мм. На его
хвостовике обрежьте не нужный больше кронштейн-фиксатор.
Остается выточить на токарном станке две втулки. Одну - на вал двигателя, другую - на гибкий вал (вместо шкива). Их лучше всего выполнить из латуни или бронзы, главное, чтобы посадочные диаметры для мягкой втулки (из медицинского шланга) несколько превышали внутренний диаметр применяемого шланга.
Сборку станка подробно описывать не будем, она достаточно проста. А в заключение добавим, что на станке полезно предусмотреть гнездо для фиксирования наконечника в нерабочем положении.
