Инкубатор из стеклянной банки

  • Опубликовано: 14 декабря 2009

 

Птицевод-любитель В. Ф. Шопин изготовил  своими рукамиинкубатор из обыкновенной стеклянной банки рассчитанный на 36 куриных яиц.


Внимание!!! Информация, содержащаяся на данной странице, добавлена из непроверенных источников, может быть устаревшей и содержать ошибки. Поэтому приводиться исключительно в ознакомительных целях.

Для его изготовления нужны две стеклянные банки, немного гофрированного картона, алюминиевой проволоки и небольшой кусок толстой фанеры или древесностружечной плиты размером не менее 32х32 см.

 

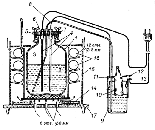
Основная часть инкубатора - теплорегулятор (рис. 1), герметично закупоренная трехлитровая стеклянная банка 1, более чем наполовину заполненная водой 2. Замкнутый воздушный объем 3 помогает поддерживать постоянную температуру в инкубаторе (плюс-минус 0,5 градуса). В воду погружены стальные электроды 4 из жести толщиной около 1 мм, шириной не более 10 мм. Электроды можно изготовить также из мягкой стальной проволоки диаметром 6 мм.

 

 

Рис. 1. Инкубатор из стеклянных банок:

1- трехлитровая банка; 2 - вода; 3 - замкнутый воздушный объем; 4 - стальные электроды; 5 - алюминиевая крышка; 6 - полиэтиленовый изолятор; 7 - резиновое уплотнение; 8 - полихлорвиниловая трубка; 9 - банка 650-1000 г; 10 - поплавок (флакон от шампуня); 11 - шарнир рычага; 12 - подвижный контакт; 13 - неподвижный контакт; 14 - лоток с водой; 15 - гофрированный картон; 16 - яйцо; 17 - деревянное основание.

 

Электроды пропущены сквозь крышку 5 так, чтобы сохранить герметичность, а это достигается электроизоляцией 6. Крышка уплотнена резиновой прокладкой 7, вырезанной из мотоциклетной или автомобильной камеры. В воду погружена еще и гибкая полихлорвиниловая трубка 8 - изоляция, снятая с алюминиевого провода диаметром 4-5 мм. Второй конец этой трубки погружен в банку 9 емкостью до 1 л. В ней установлен поплавок 10 (пластмассовая бутылка), закрепленный на шарнире 11. Поплавок связан с подвижным контактом 12. Под ним находится неподвижный контакт 13.

 

Электроды нагревают воду в банке 1 до температуры около 50 град. С, образуется пар, который давит на воду и вытесняет некоторую ее часть по трубке 8 в банку 9. Вода поднимает поплавок 10, и контакты 12 и 13 размыкаются. Нагрев прекращается. Остывая, теплорегулятор втягивает воду из банки 9 обратно, и контакты 12 и 13 замыкаются. Цикл повторяется. Чтобы плавно повысить температуру, из банки 9 понемногу отбирают воду, а чтобы понизить, - наоборот, доливают в нее прохладную.

Для увлажнения воздуха в инкубаторе установлен кольцеобразный жестяной лоток 14с водой. Для этой цели можно приспособить торцевой диск от воздушного фильтра автомобиля КамАЗ. Торец фильтра аккуратно нагревается, и будущий лоток легко отклеивается. Такой лоток для воды можно выстроить и из отдельных маленьких жестяных или пластмассовых баночек высотой 10-15 мм.

 

Яйца 16 располагаются вокруг банки тремя ярусами, по 12 штук в каждом. Лотки для их укладки изготовлены из алюминиевой проволоки диаметром 2-2,5 мм. Зазор между соседними проволочками должен быть таким, чтобы вылупляющиеся цыплята не могли коснуться горячей банки, а также не проваливались вниз. Вся конструкция помещена в ящик - гофрированный картон - 15, установленный на деревянном основании 17. Верхняя и боковая стенки выполнены из гофрированного картона в один слой.

Чем хороша конструкция инкубатора? Допустим, на длительный срок отключили электроэнергию. Снимем крышку с электродами, сольем немного воды, дольем кипятка, закроем полиэтиленовой крышкой и сверху укроем несколькими слоями ткани. И так делаем несколько раз через каждые 2,5-3 часа. Даже при аварийном отключении электроэнергии на 16 часов все закончилось благополучно.

Для того чтобы не было сбоев в работе инкубатора, необходимо 2 раза в сутки - утром и вечером - при выключенном из сети аппарате чистить контакты 12 и 13.

 

Современные трехлитровые банки достаточно тонкостенны. Чтобы не раздавить горловину, крышку 5 нужно притягивать полоской жести, пропущенной под дно банки.

 

Высота стоек у лотков для яиц 200 мм. Расстояние между полками ярусов 50 мм. Яйца верхнего яруса располагаются на расстоянии около 6-7 мм от стекла банки, среднего - 8-9 мм и нижнего - около 5 мм. Поскольку лотки изготовлены из мягкой алюминиевой проволоки, этого можно достичь, подогнув нужные проволочки на вертикальных частях лотков.

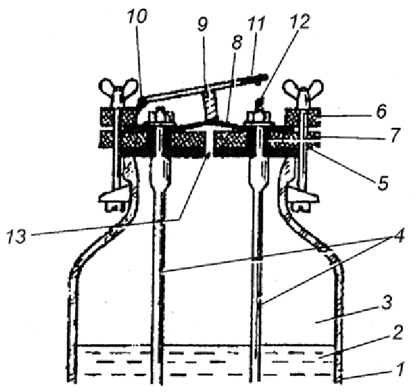
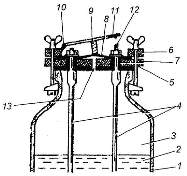
Этот же птицевод предлагает и еще один вариант теплорегулятора (рис.2). Он выполнен в форме крышки на банку. В крышке кроме уплотнительной прокладки зажата еще и мембрана, вырезанная из мотоциклетной или тонкой автомобильной резины. Надуваясь под давлением пара, мембрана периодически размыкает и замыкает контакты 11 и 12. На крышке также находится выпускной вентиль, которым можно установить нужную температуру. Во время автоматической работы теплорегулятора он должен быть плотно закрыт.

Интересен также вариант инкубатора на базе десятилитровой стеклянной банки. Яйца располагают четырьмя ярусами, по 17 штук в каждом.

 

 

Рис. 2. Терморегулятор - второй вариант:

1 - трехлитровая банка; 2 - вода; 3 - замкнутый воздушный объем; 4 - стальные электроды; 5 - алюминиевая крышка; б - полиэтиленовый изолятор; 7 - прижимное алюминиевое кольцо; 8 - резиновая мембрана; 9 - рычаг подвижного контакта; 10 - шарнир; 11 - подвижный контакт; 12 - неподвижный контакт; 13 - канал для прохода пара к мембран. 

Ф.В. Шопин



0

комментариев

37 472

просмотра

Похожие самоделки

Имя:*
E-Mail:


Песочница RSSРеклама на сайтеFreeseller.ru - Полезные самоделки
Copyright © 2008-2025