Самодельное устройство для устранения запахов в туалете.
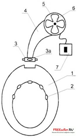
Сущность данного устройства - местная вытяжка, которая крепится на крышке унитаза. Принцип работы ясен из рисунка.
Для изготовления модифицированного сидения унитаза - (1), необходимо дополнительно купить сидение унитаза.
С внутренней стороны сидений нужно сделать 5-6 овальных отверстий - (2) и склеить два сидения унитаза эпоксидным клеем.
Модифицированное сидение крепится на жёстко закреплённой втулке - (3) с отверстием - (3а).
При необходимости сидение можно поднимать вертикально.
От втулки идёт эластичная трубка - (4) и через жестяной корпус - (5) соединена с вентилятором - (6).
Вентилятор вынесен в межблочную вентиляционную трубу Вашего панельного дома.
Освещение и вентилятор в туалете включается одним выключателем - (7).

Характеристики вентилятора:
Тип - ВН-2 или аналогичный;
V питания = 220 Вольт;
Мощность =18 Ватт;
Масса = 550 грамм;
n = 2200 об/мин;
V = 33 л/сек.